Читать книгу "Производство заготовок. Трубы"
Автор книги: Александр Килов
Жанр: Учебная литература, Детские книги
сообщить о неприемлемом содержимом
Трубы из неметаллических материалов изготавливают выдавливанием. Выдавливание (или экструзия) отличается от других способов переработки термопластов непрерывностью, высокой производительностью процесса и возможностью получения на одном и том же оборудования большого многообразия деталей (рисунок 28б). Выдавливание осуществляют на специальных червячных машинах (рисунок 28).

а – схем установки; б – профили получаемых изделий
1 – бункер; 2 – червяк; 3 – рабочий цилиндр; 4 – нагревательный элемент; 5 – радиальные канавки оправки; 6 – калиброванное отверстие головки
Рисунок 28 – Непрерывное выдавливание
Перерабатываемый материал в виде порошка или гранул из бункера 1 (рисунок 28 а) попадает в рабочий цилиндр 3, где захватывается вращающимся червяком 2. Червяк, имеющий нарезку с изменяющимся шагом и глубиной, продвигает материал, перемешивает и уплотняет его. В результате передачи теплоты от нагревательного элемента 4 и выделения теплоты при трении частиц материала друг о друга и о стенки цилиндра перерабатываемый материал переходит в вязкотекучее состояние и непрерывно выдавливается через калиброванное отверстие головки 6. Расплавленный материал проходит через радиальные канавки оправки 5. Оправку применяют для получения отверстия при выдавливании труб.
Трубы, прутки круглого и фасонного сечения получают прессованием термореактивного материала через калиброванное отверстие пресс-формы (рисунок 28 б).
Главное преимущество процесса выдавливания – это получение заготовок различного профиля с высокой точностью размеров, а недостатки – высокое удельное усилие прессования и относительно низкая стойкость штампа.
2.2.6 Изготовления композиционных трубных заготовокПри применении композиционных материалов для изготовления деталей и узлов находят применение различные способы в том числе и способ изготовления трехслойных конструкций с сотовым заполнителем.
Сущность способа заключается в том, что скрепленные между собой гофрированные полосы заполнителя оплетают по спирали покрытой соединительным составом арматурой и наматывают плотно прилегающими витками на одну из несущих обшивок.
На рисунке 29 изображена схема изготовления трехслойной цилиндрической конструкции с сотовым заполнителем.

1 – 3 – полосы алюминиевой фольги; 4 – 6 рулоны; 7 – 9 – гофрирующие механизмы (пары гофрирующих роликов); 10 – контактные ролики сварочного аппарата; 11 – оплеточный механизм; 12 – стеклонить; 13 – технологическая оправка; 14, 15 – внутренний и наружный несущие слои из пропитанной эпоксидным связующим стеклоарматуры
Рисунок 29 – Схема получения трехслойной цилиндрической конструкции с сотовым заполнителем
Полосы 1 – 3 алюминиевой фольги сматывают с рулонов 4 – 6 и подают в гофрирующие механизмы 7 – 9 (пары гофрирующих роликов). Шаг гофров всех полос одинаковый, а высота гофров полос 1 и 3 меньше, чем полосы 2. Затем все полосы подают на контактные ролики 10 сварочного аппарата, где и соединяют сваркой по полкам гофров. Соединенные между собой полосы 1-3 подают на оплеточный механизм 11, с помощью которого их оплетают по спирали стеклонитью 12, пропитанной эпоксидным соединительным составом.
На технологическую оправку 13 наматывают внутренний несущий слой стеклоарматуры 14, пропитанной эпоксидным связующим поверх слоя 14 наматывают заполнитель из плотно прилегающих друг к другу витков оплетенных полос 1 – 3. Поверх заполнителя наматывают наружный несущий слой 15 из пропитанной эпоксидным связующим стеклоарматуры. Затем связующее отверждают и в процессе термообработки происходит соединение полос 1 – 3 заполнителя между собой и с несущими обшивками 14 и 15.
2.2.7 Изготовления литых труб. Основные сведения о литейном производствеЛитейное производство разделяют на три основных типа: массовое, серийное и единичное.
Массовое производство характеризуется непрерывным выпуском отливок ограниченной номенклатуры большими партиями. Примером могут служить литейные цехи автомобильных, тракторных и других подобных предприятий. Массовое производство позволяет механизировать и автоматизировать технологический процесс в целом и организовать его более экономично.
Серийное производство характеризуется определенной периодичностью выпуска отливок ограниченной или широкой номенклатуры партиями (сериями). Примером является выпуск литых заготовок станкостроительными заводами. При серийном производстве можно выделить сходные группы отливок по габаритным размерам и массе, а также механизировать и автоматизировать отдельные операции. Эти условия являются наиболее благоприятными для внедрения передовой технологии при изготовлении определенной группы отливок.
Единичное производство характеризуется выпуском разнообразных отливок в небольших количествах, а иногда отдельных сложных литых деталей для опытных образцов станков, приборов, машин. В единичном производстве значительный процент технологических операций выполняют вручную, так как различная номенклатура выпускаемых отливок не позволяет механизировать их производство. Примером единичного производства может служить выпуск уникальных корпусов турбин, станин, деталей экскаваторов, мощных прессов и других машин.
Основными способами изготовления отливок является литье в песчаные формы, по выплавляемым моделям, в оболочковые формы, в кокиль, под давлением и центробежное. Указанными способами можно изготовлять отливки в разовые формы (литье в песчаные формы, по выплавляемым моделям и в оболочковые формы) и в металлические формы (литье в кокиль, под давлением и центробежное).
Существует много вариантов получения литых заготовок, каждый из которых имеет свое назначение и область применения.
Различают следующие виды форм:
а) разовые – служат для получения только одной отливки, после чего их разрушают. Для их изготовления используют песчано-глинистые смеси, в состав которых входит кварцевый песок от 85 до 90 %, огнеупорная глина от 8 до 14 %, вода и связующие (жидкое стекло, искусственные смолы и др.) – остальное. Разовые формы могут быть сырыми, сухими, поверхностновысушиваемыми и химически твердеющими.
Технология производства отливок в разовых формах слагается из следующих основных процессов:
– изготовление моделей и стержневых ящиков;
– приготовление формовочной и стержневой смеси;
– изготовление форм и стержней;
– сушка форм и стержней;
– расплавление металла и заливка формы;
– выбивки отливок из форм и стержней из отливок.
Разработка технологии состоит из выбора и обоснования материала заготовки (отливки), способа литья, способа изготовления литейной формы, конструирования модели и стержневых ящиков, сушильных плит, литниковой системы, разработки последовательностей технологических операций формовки, сборки форм, заливки их металлом, очистки и обрубки отливок, методов и способов контроля качества литой заготовки.
Литейная форма чаще всего состоит из двух полуформ (рисунок 30).

1 – штыри; 2, 13 – металлические рамки (опоки); 3 – литниковая чаша и стояк; 4 – рабочая полость формы; 5 – вентиляционные каналы; 6, 12 – стержневые знаки; 7 – стержень; 8 – верхняя и 11– нижняя полуформы; 9 – выступы на модели для стержневых знаков; 10 – модель
Рисунок 30 – Песчаная разовая форма в сборе
Полуформы верхняя 8 и нижняя 11 изготовлены из песчано-глинистой смеси в металлических рамках 2 и 13 (опоках). В нижней полуформе с помощью модели 10 образована рабочая полость 4 для получения отливки.
Отверстие в отливке образует песчаный стержень 7, который прочно скреплен с формой с помощью стержневых знаков 6 и 12. Выступы 9 на модели предназначены для получения отпечатков стержневых знаков в форме.
Полуформы перед заливкой скрепляют штырями 1 или на верхнюю полуформу устанавливают груз. Для удаления газов, выделяющихся из песчано-глинистой смеси и расплава, при заливке в форме и стержне выполняют вентиляционные каналы 5. Расплав в рабочую полость формы заливают через литниковую систему – совокупность каналов для подвода расплава в полость формы и питания отливки при затвердевании.
Отверстия и полости в литых заготовках образуются с помощью стержней, которые вставляются в форму при её сборке. Конфигурация стержня соответствует конфигурации отверстия, полости. Стержни изготавливаются в стержневых ящиках из стержневой смеси, которая отличается от формовочной смеси повышенной прочностью, газопроницаемостью, противопригарностью. Так получают короткие элементы трубопроводов – тройники (рисунок 31).

а – раскрытая изготовленная форма (в нижнюю полуформу вложен стержень); б – чертеж обработанной детали; в – разъемная деревянная модель со стержневыми знаком; г– разъемный деревянный стержневой ящик, д – стержень из специальной смеси с металлической арматурой, е – отлитый тройник с литниковой системой
1 – литниковая чаша, 2 – стояк литника, 3 – шлакоуловитель 4 – питатель, 5 – выпоры для удаления из формы воздуха и газов при заливке (с затвердевшим в них металлом)
Рисунок 31 – Элементы для формовки и отливка чугунного тройника
Конструкция отливки должна отвечать служебным требованиям детали, технологии ее изготовления, технологии механической обработки и эстетическим требованиям. Внешние контуры литой детали должны представлять собой сочетание простых и прямолинейных контуров, сочленяемых плавными криволинейными переходами. Необходимо стремиться к уменьшению габаритных размеров и особенно высоты детали, устранению выступающих частей, больших тонких ребер, глубоких впадин и поднутрений, затрудняющих изготовление литейной формы.
Выбор минимально допустимой толщины стенки отливки определяют размеры и сложность отливки, а также литейные свойства сплава,
Существует несколько принципов классификации отливок, в том числе, по методу формовки и по видам форм, по условиям приемки и по классам точности, по марке материала, из которого они изготовлены и т.д.
Среди отливок до 80 % по массе занимают детали, изготовляемые литьем в песчаные формы. Метод является универсальным применительно к литейным материалам, а также к массе и габаритам отливок. Специальные способы литья значительно повышают стоимость отливок, но позволяют получать отливки повышенного качества с минимальным объемом механической обработки.
Ответственные и особо ответственные отливки испытывают на прочность. При литье в песчаные формы по деревянным моделям и при формовании стержней в деревянных ящиках можно получить точность не выше 3-го класса. Точность повышают, применяя металлические модели.
Конструкция отливки считается технологичной, если она отвечает требованиям литейного производства и техническим условиям изготовления. К требованиям литейного производства относят: возможность изготовления отливки высокого качества доступными методами и приемами литейной технологии с учетом имеющегося оборудования.
Основные правила проектирования отливки следующие:
1) части ответственного назначения располагать в нижней части формы;
2) по возможности располагать отливку в одной (нижней) полуформе;
3) использовать минимально допустимое число стержней (по возможности не применять их);
4) по возможности не крепить стержни в верхней полуформе;
5) обеспечить хорошую вентиляцию стержней;
6) не допускать наличия жеребеек (приспособления для крепления стержней) в ответственной части отливки;
7) прибыли располагать только над массивными частями отливок или около них размещать боковые питающие бобышки;
8) не допускать наличия узких болванов (сужений) как в форме, так и в стержнях;
9) по возможности объединять заготовки с последующей их разрезкой.
В литейном производстве широко применяют специальные способы изготовления отливок, имеющие ряд преимуществ по сравнению со способом литья в песчаные формы. К таким особенностям относятся: возможность механизации и автоматизации производственного процесса; улучшение условий труда; увеличение производительности; значительное снижение расходов формовочных материалов (а иногда полное исключение их из процесса литья) и получение отливок с минимальными припусками на механическую обработку.
К специальным видам литья относят литье в оболочные формы, литье по выплавляемым моделям, литье в кокиль, литье под давлением, центробежное, непрерывное и полунепрерывное литье, а также литье в керамические разъемные формы, литье вакуумным всасыванием, литье выжиманием, литье с направленной кристаллизацией, жидкая штамповка.
Изготовление отливок в многократных формах (выдерживающих несколько сот или тысяч раз использования) имеет свои особенности:
– их изготавливают, из металлов обладающих высокой жесткостью и прочностью, с точными размерами, малой шероховатостью и, как правило, сложной конструкцией;
– интенсивность охлаждения отливок в металлических формах в 3-5 раз выше, чем в песчано-глинистых;
– получаются отливки с повышенной точностью (с минимальными припусками на механическую обработку);
– сокращается расход металла на литниковую систему;
– сокращаются затраты на приготовление и использование смесей и на завершающие операции;
– трудоемкость снижается на 40-50 %.
Литье в металлические формы включает в себя литье в кокиль, литье под давлением (высоким и низким), жидкую штамповку (штамповка в период кристаллизации), литье вакуумным всасыванием, литье с направленнопоследовательной кристаллизацией, литье выжиманием, центробежное, а также непрерывное и полунепрерывное литье, литье методом жидкой прокатки.
Литье под давлением является процессом получения отливок в металлических формах (пресс-формах) при котором заливка расплавленного металла в форму и формирование отливки осуществляются под давлением в условиях интенсивного отвода теплоты от залитого металла и от затвердевающей отливки к массивной металлической пресс-форме. Литье под давлением подразделено на два класса – литье под высоким (от 50 до 200 МПа) и под низким давлением. Последнее литье конкретизируют в названии.
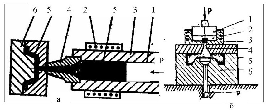
Литье под давлением (высоким) – это такой способ получения отливок в металлических формах, при котором жидкий металл через каналы, соединяющие рабочую полость пресс-формы с камерой прессования машины, поступает из последней в рабочую полость. Она по своим очертаниям соответствуют отливке. Разъем полуформ осуществляться в вертикальной или горизонтальной плоскостях (рисунок 32), а для сложных отливок и в обеих плоскостях. Первый разъем предпочтительнее, так как заготовка выпадает из пресс-формы при ее раскрытии под действием силы тяжести.

а – вертикальный; б – горизонтальный
1 – пуансон (плунжер); 2 – каналы для нагрева или охлаждения; 3 – напорная камера; 4 – литник; 5 – перерабатываемый материал (отливка); б – формообразующая часть формы; 7 – выталкиватель
Рисунок 32 – Схемы разъема форм при литье под давлением
Литье под давлением является высокомеханизированным процессом. Автоматизируют заливку расплавленного металла, очистку рабочих поверхностей пресс-формы, нанесение смазки и т. д. Литье под давлением позволяет получать отливки, максимально приближающиеся по форме, массе и размерам к готовой детали, дает возможность изготовлять сложные тонкостенные отливки с толщиной стенки от 0,8 до 0,6 мм и отверстиями диаметром до 1 мм. Литьем под давлением изготовляют корпуса приборов, декоративные изделия, детали двигателей легковых автомобилей и др.
Недостатком этого способа является высокая стоимость пресс-форм, сложность их изготовления, ограниченный срок их службы, опасность появления трещин в отливках.
Литье под давлением широко используют не только для получения заготовок из металлов и сплавов, но и для переработки пластмасс.
Литье под низким давлением применяют для получения крупных тонкостенных корпусных заготовок из легкоплавких сплавов.
Процесс характеризуется простотой и основан на том, что расплав под давлением инертного газа по литнику подается в зазор между формой и стержнем и кристаллизуется в ней (рисунок 33).

1 – расплавленный металл; 2 – плавильный тигель; 3 – электронагреватели; 4 – металлопровод; 5 – рабочая полость; 6 – форма; 7 – стержень
Рисунок 33 – Установка для литья под низким давлением
Расплавленный металл 1 из плавильного тигля 2, который нагревается электронагревателями 3, под давлением 0,01 – 0,08 МН/м2 инертного газа или воздуха выжимается по металлопроводу 4 в рабочую полость формы 5, где он кристаллизуется в пространстве между формой 6 и стержнем 7. Стержень может быть из обычной стержневой песчаной смеси. Давление инертного газа должно быть невысоким по той причине, что площадь зеркала расплавленного металла в тигле 2 во много раз больше площади металлопровода 4. Незначительное перемещение металла в тигле вызывает высокий подъем жидкого металла внутри металлопровода и в литейной форме. После кристаллизации отливки давление инертного газа снимается, металл из литника стекает в тигель, литейная форма раскрывается и из нее извлекают отливку.
Литье намораживанием применяют для изготовления труб с внутренними и наружными ребрами и других сложных профилей из малопластичных сплавов. На поверхность расплавленного металла помещают плиту из огнеупорного материала, в которой имеется отверстие требуемого профиля будущего литого изделия. Внутрь отверстия вводят затравку, к которой приваривается металл. При вытягивании затравки со скоростью, не превышающей скорости кристаллизации металла, из отверстия плиты извлекается заготовка соответствующего профиля так как за счет сил поверхностного натяжения на границе жидкость – твердое тело создается небольшое разряжение, а за счет атмосферного давления жидкость втягивается за вытягиваемым твердым телом.
На этом принципе основано производство листового стекла.
Литье непрерывное и полунепрерывное применяют для изготовления различного профиля (круглого, квадратного, прямоугольного, шестигранного и др.) с поперечным размером (диаметром) до 1000 мм из железоуглеродистых и цветных сплавов.
Процесс непрерывного литья заключается в том, что жидкий металл поступает в кристаллизатор и из него отливка непрерывно вытягивается тянущим устройством.
Непрерывное литье осуществляют на установках вертикального или горизонтального типов (рисунок 34).

1 – расплав; 2 – металлоприемник; 3 – водо-охлаждаемый кристаллизатор; 4 – графитовая вставка; 5 – заготовка; 6 – тянущее устройство (валки)
Рисунок 34 – Схема установки непрерывного литья
Расплав 1 заливают в металлоприемник 2, откуда под действием гидростатического напора он поступает в водо-охлаждаемый кристаллизатор 3 с графитовой вставкой 4. Применение графита обусловлено тем, что он обладает высокой теплопроводимостью и термостойкостью, достаточной прочностью при высоких температурах и низким коэффициентом теплового расширения, плохо смачивается расплавленным металлом и не требует смазки. Кристаллизатор легко отделяется от металлоприемника, что позволяет быстро переналаживать установку на любой профиль. Из кристаллизатора заготовка 5 непрерывно вытягивается тянущим устройством 6, а кристаллизатор постоянно заполняется жидким металлом. Таким образом, процесс литья может протекать непрерывно. Металлоприемник выполняет роль постояннодействующей прибыли, что способствует получению плотной и качественной заготовки.
Полунепрерывным способом получают крупные чугунные трубы на вертикальных установках. Металл заливают в зазор между водоохлаждаемой формой кристаллизатора и стержнем на так называемое «ложное дно», по мере кристаллизации оно (ложное дно) с отливкой медленно (со скоростью от 0,9 до 3,0 мм/мин) опускается. Так получают труба длинной до 10 м. Схема вертикальной установки для полунепрерывного литья показана на рисунке 35.

1 – кристаллизатор (литейная форма); 2 – пустотелый (охлаждаемый водой) стержень; 3 – жидкий сплав; 4 – ложное дно-затравка; 5 – ковш
Рисунок 35 – Схема установки полунепрерывного литья
Расплавленный металл при температуре до 1300 °C заливают в пустотелый охлаждаемый водой кристаллизатор 1, выполняющий функции литейной формы, внутрь которого вставлен стержень 2, также пустотелый и охлаждаемый водой. Между внутренней стенкой формы-кристаллизатора 1 и стержнем 2 образуется зазор, в который заливается жидкий сплав 3 из ковша 5. Для начала процесса литья в зазор между формой и стержнем перед заполнением его металлом вводят ложное дно – затравку 4. Затравка соединяется с расплавленным металлом и помере кристаллизации сплава постепенно со скоростью от 1 до 3 м/мин извлекается из кристаллизатора. Вытягивание затравки и соединившейся с ней отливки осуществляется приводными валками или столом, на котором была закреплена затравка. Диаметр труб достигает 1000 мм, а их длина до 10 м.
Внимание! Это не конец книги.
Если начало книги вам понравилось, то полную версию можно приобрести у нашего партнёра - распространителя легального контента. Поддержите автора!