Читать книгу "Каменные и бетонные работы"
Автор книги: Ирина Новикова
Жанр: Дом и Семья: прочее, Дом и Семья
сообщить о неприемлемом содержимом
В условиях заболоченных, сильно пучинистых и зыбких грунтов устройство обычных фундаментов представляется очень проблематичным, потому что влечет за собой значительные технические трудности, гораздо больший объем земляных работ и, как следствие, высокие затраты.
В этом случае можно устроить так называемый плавающий фундамент, представляющий собой железобетонную монолитную плиту, свободно лежащую на насыпном основании. Размеры плиты должны соответствовать размерам дома. По периметру плиты с нижней стороны делают ребра жесткости. Точно такие же ребра, только меньшей высоты, устраивают по всей плоскости плиты в продольном и поперечном направлениях с шагом 100–120 см.
Технология устройства такого вида фундамента довольно проста. Прежде всего из грунта, щебня, крупного песка или их смеси насыпают основание толщиной 40 см, немного увлажняют и тщательно утрамбовывают. Из строганых досок собирают щитовую опалубку и закрепляют ее с наружной стороны вбитыми в землю колышками с шагом 1–1,5 м. Затем для бетонирования ребер жесткости выкапывают канавки и застилают их полосками толя, рубероида или пергамина в качестве гидроизоляционного слоя.
Арматуру равномерно раскладывают по всему основанию и вдоль канавок. Для арматуры подойдут стальные прутья или проволока любого размера, обрезки труб и профиля. На небольшую ржавчину внимание не обращают, так как на качество железобетона она не повлияет.
После установки арматуры заливают бетон и трамбуют верхнюю плоскость плиты, выравнивая ее по уровню. В случае необходимости в нужных местах добавляют бетон.
Поверхность плиты закрывают листовым материалом от дождя и солнца и оставляют в таком виде на 10–15 дней, после чего снимают опалубку и выкладывают кирпичный цоколь по всему периметру плиты. Под внутренними стенами и лагами пола выкладывают кирпичные столбы, располагая их над ребрами жесткости.
В зависимости от заглубленности различают следующие типы фундаментов:
– сильнозаглубленные;
– малозаглубленные;
– незаглубленные.
На территории средней полосы России принято устройство сильнозаглубленных фундаментов, мало– и незаглубленные применяют только в южных регионах.
Сильнозаглубленные фундаменты целесообразнее применять в северных районах, а также на территории средней полосы России. Сильнозаглубленный ленточный фундамент представляет собой конструкцию из бетонных блоков размером 300 х 300 х 450 мм. Блоки укладывают на цеметном растворе в три ряда по высоте с армированием межрядных плоскостей армировочной сеткой. Фундамент возводят на песчаной подушке толщиной 15–20 см. Общее заглубление фундамента (с учетом песчаной подушки) составляет 90 см. Высота фундамента от земли составляет 40–45 см.
Устройство малозаглубленных фундаментов позволяет значительно снизить объем земляных работ и расходы на материалы за счет уменьшения глубины закладки фундамента. При действии сил морозного пучения по касательной боковые грани фундаментов необходимо выполнять наклонными с расширением книзу, а пазухи траншей заполнять песчаной подушкой с послойным уплотнением. Также дополнительно рекомендуется сделать обмазку выровненных боковых поверхностей различными противопучинистыми материалами.
Малозаглубленный ленточный фундамент представляет собой бетонную конструкцию шириной 30–50 см, высотой 20–50 см, уложенную с небольшим заглублением на песчаную подушку.
В зависимости от строения и степени пучинистости грунта блоки для фундаментов располагают следующим образом:
– свободно, без соединения между собой;
– в виде монолитного железобетона;
– соединенными между собой.
При устройстве фундаментов в средне– и сильнопучинистых грунтах основания скрепляют между собой балками или различными поясами усиления (например, железобетонными). В этих условиях также устраивают фундаменты из трапециевидных блоков, размещенных в траншее на засыпке из непучинистых материалов.
Суть устройства фундамента такого типа заключаются в следующем: при проявлении нормальных сил морозного пучения происходит выпирание непучинистого материала через треугольные вырезы блоков, в результате чего действие и величина этих сил становятся значительно слабее.
Устройство малозаглубленного фундамента в зоне сезонного промерзания грунтов
Для усиления фундамента в зоне сезонного промерзания грунтов, а также для повышения устойчивости против воздействия сил пучения фундамент устраивают в виде открытой оболочки с опорной подушкой в верхней части. При этом сама полость оболочки может быть заполнена грунтом-дренажем.
Песчаную (или щебеночную) подушку укладывают под оболочкой цилиндрической, квадратной, прямоугольной и любой другой формы. Дополнительно поверхность оболочки промазывают горячим битумом или смолой.
Если деформация фундамента в сезонные периоды промерзания и оттаивания превышает допустимые пределы, рекомендуется использование специальной теплозащиты.
Расположенная на небольшой глубине рядом с фундаментной стеной теплоизоляция замедляет отдачу тепла и значительно уменьшает глубину промерзания грунта.
В качестве теплоизоляционного слоя применяют минераловатные плиты или пенопласт, а также легкие сыпучие материалы. При использовании подобных материалов большое значение имеют следующие их свойства:
– теплоизолирующая способность;
– прочность;
– долговечность.
Положительную температуру грунта поддерживают также с помощью электрического кабеля, проложенного вокруг фундамента.
Незаглубленные фундаменты устраивают при отсутствии сил морозного пучения. Основные мероприятия по обеспечению устойчивости строений в таком случае сводятся к подготовке основания с последующим устройством фундаментов.
Выше отмечалось, что при использовании песчаных подушек под фундаментами силы морозного пучения значительно уменьшаются. Происходит это за счет упругости непучинистых материалов. В качестве материалов для подушек рекомендуется использовать крупно– и среднезернистый песок, мелкий щебень, керамзит, котельный шлак и пр. Ленточные фундаменты под кирпичные и блочные строения, возводимые на среднепучинистых и сильнопучинистых грунтах, соединяют в горизонтальную раму, которая выравнивает деформацию основания от пучения в период промерзания грунта, а также во время весеннего оттаивания. Этот же принцип применяют и при устройстве столбчатых фундаментов.
Заглубление песчаной подушки, ее высота, а также армирование фундаментов определяют так же, как и при устройстве малозаглубленных фундаментов на пучинистых грунтах.
Незаглубленный ленточный фундамент представляет собой элемент высотой примерно 20–25 см и толщиной 30–50 см. Толщина песчаной подушки зависит от степени пучинистости грунта.
Для строительства деревянных строений на слабопучинистых грунтах можно применять ленточные фундаменты из блоков, уложенных на подсыпку из песка или мелкого гравия. При средне– и сильнопучинистых грунтах эти блоки должны быть жестко соединены между собой сваркой или скруткой.
Правильное применение пучинистого грунта в качестве природного основания под незаглубленные фундаменты, в том числе и с использованием теплоизоляции, исключает деформацию фундамента сверх нормы и позволяет избежать лишних расходов на строительство.
Особенности устройства фундаментов в зависимости от характеристики грунтаПеред проведением бетонных работ требуется узнать основные характеристики грунта той местности, где предполагается возведение дома. Такую проверку можно провести самостоятельно: для этого выкапывают яму глубиной до 2 м и определяют уровень расположения грунтовых вод и глубину промерзания грунта.
Если уровень грунтовых вод расположен достаточно глубоко (ниже глубины промерзания на 1,5–2 м), такой грунт считается сухим. В этом случае устраивают песчаный фундамент.
В сухих грунтах подошву фундамента следует устраивать на глубине 70–80 см. Прежде всего дно траншеи послойно заполняют крупным песком. Каждый слой увлажняют водой.
В этом случае можно сэкономить примерно 50 % бетона. Далее над поверхностью земли бетон укладывают в опалубку, а верх фундамента выводят на отметку 50–60 см от уровня земли, выравнивают его цементно-песчаным раствором и устраивают гидроизоляцию из двух слоев толя или рубероида.
При расположении уровня грунтовых вод ниже глубины промерзания меньше чем на 1,5 м фундамент закладывают на глубину 70–100 см в песчаных и супесчаных грунтах и на расчетную глубину промерзания в суглинистых грунтах.
Хуже всего, когда уровень грунтовых вод совпадает с глубиной промерзания грунта. В этом случае работы по устройству фундаментов более сложны: основание фундамента закладывают ниже расчетной глубины промерзания на 30 см. Для экономии материала часть бетона можно заменить песчаной подушкой.
Чаще всего фундаменты на песчаной подушке применяются в следующих случаях:
– для экономии строительных материалов;
– для полной или частичной замены непригодных грунтов в основании;
– для подъема отметки пола над уровнем грунтовых вод.
При их устройстве в ямы засыпают средне– или крупнозернистый песок слоем 150–200 мм, поливая водой и затем тщательно утрамбовывая. В условиях обводненных грунтов, особенно опасных при промерзании в зимнее время года, предварительно следует устроить дренаж. В противном случае возможно заиливание песчаных подушек, а значит, и утрата ими первоначальных свойств.
После снятия опалубки стенки фундамента промазывают горячим битумом для того, чтобы уменьшить сцепление стен фундамента с грунтом при пучении в зимний период.
Установлено, что процессы накопления влаги в связных грунтах происходят вследствие нарушения их природного состава в процессе работы. Следовательно, чем больше будет их объем после выполнения целого ряда работ по устройству фундаментов (оборудования подвалов и всевозможных коммуникаций, прокладки труб и устройства насыпей при вертикальной планировке), тем больше здесь появится влаги в последующий период. Следовательно, силы морозного пучения тоже возрастут.
Как с этим бороться? Наблюдениями доказано, что устройство фундаментов без нарушения целостности грунта в вытрамбованных котлованах значительно снижает риск появления сил морозного пучения.
В этом случае под подошвой фундаментов и вокруг их боковых граней создается уплотненный грунт пониженной влажности.
Нагрузка фундамента по подошве и боковым стенкам передается на уплотненный грунт, а затем и на грунты природного сложения, вследствие чего достигается повышенная несущая способность фундамента, а размеры его значительно снижаются и уменьшается воздействие сил морозного пучения.
К такому виду устройства фундаментов относятся в основном элементы свайных фундаментов:
– забивные призматические и пирамидальные сваи;
– забивные блоки;
– набивные сваи с пробитых скважинах;
– виброштампованные сваи.
Суть устройства фундаментов в вытрамбованных грунтах состоит в следующем. Котлованы под отдельные виды фундаментов, перечисленных выше, не выкапываются, а вытрамбовываются на необходимую глубину с последующим заполнением бетоном враспор или установкой сборного элемента.
По способу устройства фундаменты в вытрамбованных основаниях бывают:
– обычными, с плоской или клиновидной подошвой;
– с расширенным основанием.
Последний тип фундамента получают втрамбовыванием в дно траншеи отдельными порциями щебня, гравия, крупного песка, бетонной смеси или строительных отходов с последующим заполнением верхней части вытрамбованного котлована монолитным бетоном класса В15.
По характеру взаимодействия с грунтом фундаменты в вытрамбованных котлованах бывают:
– столбчатыми, отдельно стоящими;
– ленточными прерывистыми.
При устройстве фундаментов в вытрамбованных траншеях в основании вокруг них образуется зона уплотненного грунта, способствующего уменьшению влажности и пучинистости.
Гарантией долгой службы любого вида фундамента служит его защита от поверхностных вод и дождя. Для этого от стен дома устраивают отмостку с небольшим уклоном, шириной не менее 100 см.
В доме с утепленным полом или полом с подогревом вместо цоколя устраивают забирку.
Вариант такого рода фундамента более экономичен по сравнению с другими. Кроме того, он идеально подходит для постройки дачного домика.
Для строительства легких каркасных и панельных домов устраивают столбчатые фундаменты из асбестоцементных труб – достаточно долговечного и внешне привлекательного материала. Трубы хорошо противостоят пучению грунта и экономят расход бетона.
Для этого вида фундамента понадобятся асбестоцементные трубы длиной 120–150 см. Технология устройства фундамента довольно проста: на дно ямы укладывают железобетонную подушку: она служит опорой и в то же время анкером для асбестоцементной трубы, заполненной бетоном с арматурой и связанной проволокой с арматурой анкера. Связанный предварительно арматурный каркас опускают в яму перед бетонированием. В непучинистых грунтах армирование не делают.
Основные правила при возведении фундаментовПри закладке фундамента любого типа нужно помнить о том, что почти всегда в большинстве фундаментных конструкций применяется бетон, который, в свою очередь, отличается такой особенностью, как период набирания прочности. Обычно он составляет не более 30 дней. Поэтому после заложения бетонной конструкции ее следует выдержать в течение указанного времени без нагрузки. Лучше всего фундаментную конструкцию накрыть в это время любым водонепроницаемым материалом, например рубероидом, для предотвращения пересыхания верхнего слоя. В период схватывания бетона рекомендуется периодически поливать фундамент водой, чтобы не допустить неравномерного высыхания.
Не следует забывать о том, что недавно возведенный фундамент должен постоять некоторое время. Иначе связанные с неправильной выдержкой дефекты проявятся довольно скоро, а быстрота при возведении дома чаще всего оборачивается новыми затратами времени и средств.
При возведении фундаментов следует обратить особое внимание на защиту наружных сторон цоколей от внешних климатических и атмосферных воздействий. Чаще всего эту часть работы делают по окончании строительства или же совсем забывают о ней. Между тем монолитный или кирпичный цоколь прослужит гораздо дольше, если его оштукатурить или облицевать плиткой.
В последнее время в специальную смесь для затирки фундамента принято вносить различные добавки с содержанием резины, например измельченные и расплавленные автомобильные покрышки. Этим составом снаружи обмазывают цоколь. Получившееся покрытие не только декоративно, но и надежно.
При устройстве цоколя предусматривают наличие вентиляционных отверстий: летом они служат для проветривания подпола и подвала, а с наступлением сезонных дождей их закрывают, чтобы влага не попадала в дом.
Отдельно следует позаботиться о правильном сливе дождевой воды с крыши. Казалось бы, с возведением фундамента эта часть строительных работ никак не связана. Однако отсутствие подобного устройства существенно снижает срок службы фундамента, поскольку дождевая вода, попадая с крыши на отмостку, разбивает ее и цоколь, сильно и неравномерно увлажняет грунт вблизи фундамента, что, в свою очередь, сказывается на его несущей способности и в дальнейшем приводит к проседанию фундамента.
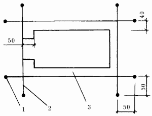
Особенности возведения фундаментов для различных видов строенийДля строительства гаража, как и любого другого строения, требуется предварительно заложить фундамент. Так как гараж чаще всего строят из кирпичей, фундамент лучше всего сделать ленточным, то есть непрерывным (рис. 116).

Рис. 116. Устройство фундамента гаража: 1 – колышек; 2 – разбивочный шнур; 3 – фундамент (размеры даны в см).
Для гаража будет достаточно заложить фундамент на глубину 30 см шириной 40 см. Он должен быть немного шире, чем стена. Под фундамент роют траншеи, на дно которых насыпают слой песка толщиной не менее 50 см. Таким образом, глубина траншеи должна составлять 80 см.
На дно траншеи засыпают песок двумя слоями по 25 см, каждый из которых утрамбовывают и поливают водой, чтобы песок спрессовывался. На приготовленную песчаную подушку укладывают параллельно друг другу несколько прутьев арматуры.
Их следует уложить так, чтобы концы перекрывали друг друга не менее чем на 20 см, затем скрепить их между собой с помощью проволоки. Для предотвращения коррозии арматуры прутья следует расположить на расстоянии 5 см от слоя песка, поэтому их перед заливкой бетоном подвешивают на нужной высоте, положив по краям траншеи перекладины.
Залив траншеи бетоном, в фундамент вставляют металлические прутья длиной около 40 см, погружая их наполовину длины. В дальнейшем они понадобятся для связки фундамента со стенами гаража. Прутья устанавливают по углам строения и между ними на расстоянии 1–1,5 м друг от друга.
В жаркую погоду поверхность застывающего бетона накрывают рубероидом или присыпают опилками, мхом или травой и смачивают водой, чтобы он высыхал постепенно и не трескался. Как правило, гаражи строят без цоколя.
Перед закладкой фундамента следует убедиться, что площадка ровная. Если же она имеет уклон, необходимо провести планировку, то есть снять лишнюю землю с возвышений.
Фундамент необходимо защитить от воздействия воды с помощью средств гидроизоляции. Вокруг строения делают отмостку – небольшой бетонированный уклон от стены по всему периметру сооружения, который не позволит талой и дождевой воде скапливаться у стен гаража.
В наши дни печи хоть и редко, но встречаются. Однако поставить печь – это еще полдела. Главное – уметь правильно сложить фундамент. Одна из главных причин преждевременного выхода печи из строя – ненадежный фундамент.
В одноэтажных домах печи ставят на специальных фундаментах. Исключение составляют небольшие печи или камины, общей массой до 750 кг: их можно устанавливать непосредственно на пол. Однако это правило действует только для устойчивых полов. Если прочность пола вызывает сомнения, его можно дополнительно усилить балками. Под более тяжелые печи фундаменты устраивают на плотных, не дающих осадки под нагрузкой грунтах.
Поскольку верхний растительный слой грунта содержит много органических примесей и не может служить основанием под фундаменты, его необходимо удалить. Толщина этого слоя может варьироваться от 10 до 50 см.
В старину русскую бревенчатую баню ставили на камни, уложенные прямо на землю. Под внутренними и наружными углами бани устраивали опоры из наиболее крупных камней, а промежутки между ними заполняли любым материалом – мелким щебнем, небольшими камнями и жидкой глиной. Эта мера была необходима для защиты пола от продувания. Для увеличения срока службы бани нижний ее венец делали из дуба. В этом случае баня могла стоять прямо на земле.
Подобный способ постановки небольшой бани довольно прост и идеально подходит для строительства на однородном плотном или каменистом грунте. Помимо этого, требуется, чтобы грунт в зимнее время равномерно промерзал и так же равномерно оттаивал, а сама конструкция бани была надежной.
Чтобы баня служила дольше, ее устраивают на фундаменте. Строительные работы начинают с устройства участка, на котором будет находиться баня. Участок освобождают от растительности, снимают верхний слой и выравнивают. Затем согласно намеченному плану разбивают участок под фундамент. По углам участка на расстоянии 1,5 м от внешнего контура бани устанавливают п-образные колышки с прибитыми к ним сверху брусками. Затем натягивают на них шнуры, обозначающие контур фундамента. Еще раз тщательно проверяют расстояние между углами по диагонали; сами углы должны быть прямыми.
Противоположные стены бани строят с отклонением от параллельного положения примерно на 4°, для чего одну стену отклоняют от параллельного положения в одну сторону на 2°, а другую – в другую сторону также на 2°.
Очень просто устроить фундамент на однородном, сухом и плотном грунте. В этом случае укладывают крупные постелистые камни, сверху укладывают обработанные антисептиком и промазанные битумом брусья бани. Камни укладывают под всеми углами бани, а также в местах стыка внутренних стен с наружными (рис. 117).

Рис. 117. Строительство фундамента на сухом, однородном и плотном грунте: а – установка обноски: 1 – отвес; 2 – стойка п-образная; 3 – шнур; 4 —плодородный слой; 5 – траншея; б – опора-подкладка из природного камня; 1 – утрамбованная глина; 2 – камень; 3 —гидроизоляция; в – деревянный стул на камне; 1 – камень; 2 —комлевая часть бревна; 3 – гидроизоляция; г – деревянный стул с крестовиной; 1 – крестовина; 2 – бревно; 3 – гидроизоляция; д – ленточный фундамент; 1 – гидроизоляция; 2 – цоколь из бута на растворе; 3 – утрамбованный песок; е – ленточный фундамент из бутобетона; 1 – бутовый камень на растворе; 2 —гидроизоляция; 3 – противопучинная оболочка; ж – столбчатый фундамент из кирпича; 1 – утрамбованный песок; 2 —гидроизоляция; 3 – кирпичная кладка в полтора кирпича.
Довольно часто бани возводят на ленточном фундаменте из камня, поверх которого укладывают слой гидроизоляции. Промежутки между камнями, грунтом и нижним венцом заполняют разведенной глиной; ею же заполняют траншею снаружи.
В результате получается превосходная отмостка, предохраняющая баню от атмосферных осадков.
В проблемных грунтах обычно строят настоящие фундаменты, только более упрощенного типа.
О проблеме промерзания грунта говорилось выше. Однако строительство фундамента для бани значительно отличается от строительства обычного дома: топиться баня будет нерегулярно, а значит, и строить ее нужно как неотапливаемое строение.
Баня – легкое строение, поэтому даже при глубоком заложении фундамента последний будет выталкиваться, если к нему будет примерзать грунт. Для того чтобы этого не произошло, фундамент дополнительно защищают противопучинистыми щитами или оболочкой. Это не что иное, как та самая песчаная подушка, о которой шла речь выше. Однако существует и более надежное средство – двуслойная полиэтиленовая пленка с нанесенной между слоями специальной смазкой БЛМ-3.
Вместо смазки БЛМ-3 часто используют горячий садовый вар в смеси с отработанным машинным маслом или солидолом.
Для устройства фундамента бани можно также применять и деревянные стулья, покрытые расплавленным битумом.
Деревянный стул представляет собой комлевую часть дерева диаметром 30–40 см, поставленную на чурбак или деревянную крестовину. В вертикальном положении на опорах (для них можно использовать камень, кирпич, доски) столб фиксируется крепкими косынками.
Перед покрытием горячим битумом деревянные столбы и стулья покрывают антисептиком и просушивают.
При устройстве фундаментов из кирпича, бутового камня или бетона особое внимание уделяют характеру применяемого раствора – как правило, он должен соответствовать характеру грунта. В условиях залегания грунтовых вод ниже 3 м используют раствор из цемента марки 100, известкового теста (иногда его заменяют глиной) и песка, взятых в соотношении частей 1: 0,5: 5. Если уровень грунтовых вод находится на глубине от 1 до 3 м, соотношение частей для раствора должно быть другим – 1: 0,3: 3,5. Если уровень грунтовых вод расположен на глубине менее 1 м, для приготовления раствора берут цемент марки 150 и песок в соотношении частей 1: 2,5 без примеси глины или известкового теста.
Для бани обычно строят простейший ленточный фундамент. Прежде всего в подготовленную траншею насыпают крупнозернистый песок, щебень или гравий слоями по 20 см, каждый слой плотно утрамбовывают, одновременно поливая водой, после чего на уровне земли заливают все слои жидким цементным раствором и выкладывают цоколь из кирпича или бутового камня. Сверху на фундамент укладывают два слоя толя или рубероида.
При устройстве столбчатого фундамента по углам бани и в местах сочленений внутренних стен с наружными устанавливают столбы из бетона, кирпича или бутового камня. Для экономии материала на половине глубины траншеи делают песчаную подушку.
Бетон для фундамента изготавливают непосредственно на месте строительства. Для этого лучше всего использовать армированный бетон, который укладывают в дощатую опалубку, тщательно уплотняют и оставляют до полного схватывания раствора.
В качестве опалубки применяют также и другие материалы, например, трубы из кровельного железа или асбестоцементные трубы. В этом случае способ устройства фундамента довольно прост. Прежде всего выкапывают яму нужной глубины с поперечным сечением не менее 30 см, вставляют в нее в вертикальном положении трубу, незанятое трубой пространство заполняют песком или мелким щебнем (эти материалы будут служить своеобразной смазкой для предотвращения выталкивания фундаментного столба при зимнем вспучивании). Затем вставляют в трубу связанные проволокой металлические стержни, заливают бетоном и хорошо уплотняют.
Для удобства работы к одному концу трубы-опалубки прикрепляют два куска проволоки – они будут служить ручкой. Взявшись за них, опалубку вынимают на 40 см, заново засыпают песком снаружи и заливают новую порцию бетона.
Затем выкладывают кирпичные стены между столбами фундамента, заглубляя их в землю на 25 см, выравнивают их цементным раствором и покрывают гидроизоляционным слоем. Снаружи устраивают глиняную отмостку.
Для экономии строительных материалов вместо кирпичных стен можно построить насыпные, используя для этого любые материалы, не поддающиеся гниению, например, гравий, обрезки шифера, строительный мусор, шлак, сухую землю и пр.
Насыпные стены возводят следующим образом. Прежде всего изготавливают деревянные рамы, охватывающие выступающими концами соседние столбы. Внутри каждой рамы укладывают два листа шифера, углубляя его в землю. Затем полое пространство между шифером заполняют насыпным, обязательно сухим материалом.
Подобный способ применяют также и при возведении ленточных фундаментов. Для этого траншею под фундамент на половину ее глубины заполняют песком или гравием, хорошо утрамбовывают и укладывают сверху кирпичи в 1 ряд. На кирпичи устанавливают обитые шифером рамы, а в пространство между листами шифера затем заливают бетонный раствор. Для изготовления рам применяют обработанный антисептиками и битумом материал.
В условиях плотного грунта, если стены траншеи под фундамент не обваливаются, целые листы шифера или обрезки устанавливают без рам, вдоль стен траншеи. Пространство снаружи засыпают песком и утрамбовывают, пространство между листами заполняют наполовину песком или гравием, тщательно утрамбовывая, потом заливают бетоном. После затвердения бетона листы шифера снимают и используют вторично. Вместо шифера применяют также дощатую разборную опалубку.
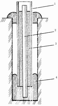
При строительстве бани рекомендуется использовать столбчатый (буровой) фундамент из кирпича, камня, бетона (или их сочетания), деревянных столбов. Самым простым является фундамент из готовых бетонных столбов или асбестоцементных труб, заполненных бетоном (рис. 118).

Рис. 118. Буровая свая фундамента: 1 – асбестоцементная труба; 2 – арматура; 3 – бетон; 4 – буровая скважина.
Особенно хорошо он зарекомендовал себя при строительстве рубленых, брусчатых и каркасных бань, когда расстояние между опорами не превышает 3 м и не надо делать специальных перемычек между столбами.
Для создания столбчатого фундамента необходимо сначала пробурить скважину диаметром 24 см и глубиной 1,5 м.
Затем в полученную скважину вставляется асбестоцементная труба диаметром 20 см. Чтобы труба стояла вертикально, снаружи она уплотняется грунтом. На одну треть труба заполняется бетонной смесью. После этого трубу необходимо немного приподнять, чтобы бетонная смесь из нее вышла и образовала уширенное основание сваи. Потом в трубу надо добавить бетонной смеси до отметки, расположенной на 10–15 см ниже ее верхнего конца, и вставить стержень из арматурного железа. Через 4–5 сут на сваи можно устанавливать нижний венец сруба и приступать к возведению стен бани.
Применяемый при строительстве фундамента цементный раствор должен соответствовать характеру грунта:
– при залегании грунтовых вод ниже 3 м можно использовать цементный раствор с добавлением известкового теста и песка в соотношении 1: 0,5: 5 (известковое тесто в таком растворе можно заменить глиной);
– при залегании грунтовых вод ниже 1 м для приготовления раствора берутся те же компоненты, но в другом соотношении —1: 0,3: 3,5;
– при залегании грунтовых вод на глубине менее 1 м для приготовления раствора применяется цемент марки 150 и песок в соотношении 1: 2,5.
Между столбами фундамента по контуру бани и парной выкладывается кирпичная стена в один или полкирпича, заглубленная в землю на 25 см. Высота стены и столбов должна быть выше уровня почвы не менее чем на 20 см.