Читать книгу "Современные технологии строительства и реконструкции зданий"
Автор книги: Геннадий Бадьин
Жанр: Отраслевые издания, Бизнес-Книги
Возрастные ограничения: 12+
сообщить о неприемлемом содержимом
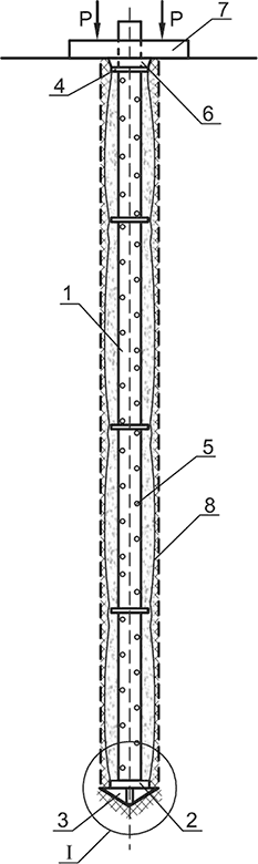
Способ возведения свайного фундамента под большие нагрузки
Способ возведения свайного фундамента под большие нагрузки (рис. 3.5) включает:
♦ погружение обсадной металлической трубы, формирование кондуктора путем закрепления системы извлекаемых горизонтальных и вертикальных центрирующих гидродомкратов на обсадной металлической трубе;
♦ формирование скважины под защитой бентонитового раствора с заглублением в слаботрещиноватые известняки, замену загрязненного бентонитового раствора на свежеприготовленный с удалением бурового шлама со дна скважины;
♦ формирование трубно-арматурного каркаса в виде соединения трубной и арматурной частей, установление зонтика-ограничителя уровня заполнения скважины бетонной смесью примерно на границе перехода арматурного каркаса в трубный;
♦ вывешивание трубно-арматурного каркаса над кондуктором арматурной частью вниз, вертикальное центрирование и монтаж трубно-арматурного каркаса в скважине с компенсацией эксцентриситета и фиксацией зазоров от стенок и дна скважины с помощью кондуктора;
♦ установку внутри каркаса бетонолитной трубы и непрерывное бетонирование трубно-арматурного каркаса и ствола скважины снизу вверх под высоким начальным давлением подачи бетонной смеси, с понижением давления при достижении бетонной смесью зонтика-ограничителя;
♦ последующее бетонирование с пониженным давлением подачи бетонной смеси и прекращением подачи бетонной смеси при достижении верхнего уровня трубной части трубно-арматурного каркаса;
♦ извлечение бетонолитной трубы из скважины, засыпку полости между кондуктором и трубной частью каркаса крупным заполнителем, временную выдержку бетонного монолита и демонтаж кондуктора.

Рис. 3.5. Пример выполнения опоры, где указаны скважина 1, трубно-арматурный каркас 2 с арматурной частью 3 и трубной частью 4, ограничитель 5 уровня заполнения скважины бетонной смесью, кондуктор 6, бетонолитная труба 7
Технология подземного строительства top-down (Бельгия)
При строительстве торгового центра «Стокманн» впервые в Петербурге применена передовая технология подземной проходки top-down, суть которой состоит в том, что «стена в грунте» сдерживает давление воды и подземные этажи растут не «снизу вверх» со дна котлована, а наоборот, от уровня поверхности «сверху вниз» на глубину 15 м. Используя бельгийскую современную технологию top-down, петербургские инженеры и строители приобрели неоценимый опыт подземного строительства, который оказался эффективным методом. Мониторинг уровня грунтовых вод при производстве работ показывал, что их уровень не изменялся, и в котловане было сухо. Top-down – это заглубляемое сооружение, жесткая железобетонная по периметру конструкция, позволяющая свести к минимуму осадки грунта, что гарантирует сохранность всех зданий и сооружений, находящихся в непосредственной близости от места ведения работ, а также имеется возможность использования «стены в грунте» в качестве как ограждающей, так и несущей конструкции.
Технология работ следующая. Стены сооружения возводятся в узких и глубоких траншеях, извлеченный грунт замещается бентонитовым раствором. Раствор создает гидростатическое давление на стенки траншеи, удерживает их от обрушений. Затем в вырытую траншею опускается арматурный каркас, который заполняется высокомарочным бетоном или железобетонными элементами, которые вытесняют бентонитовый раствор. Это предохраняет от осадок и деформаций здания, расположенные в непосредственной близости от места строительства.
При применении технологии top-down в тело сваи заводятся прочные стальные сердечники, а шпунт погружается в грунт при помощи мощнейшего импортного вибратора.

Рис. 3.6. Примеры устройства монолитной стены в грунте вблизи существующих зданий
Современные западные геотехнологии ограждения котлованов адаптированы к инженерно-геологическим условиям Санкт-Петербурга. На рис. 3.6 показаны примеры устройства монолитной стены в грунте вблизи существующих зданий. «Стена в грунте» для самого большого подземного сооружения в центральной части Санкт-Петербурга на острове Новая Голландия показана на рис. 3.7.

Рис. 3.7. «Стена в грунте», на острове Новая Голландия

Рис. 3.8. Реконструкция Каменноостровского театра
При реконструкции Каменноостровского театра (рис. 3.8) выполнялись работы по реставрации исторического здания и устройству подземного пространства глубиной 6,5 м. Эта работа уникальна для мировой геотехнической практики (реставрационный вариант технологии top-down, когда вверх идет реставрация, а вниз – подземное строительство).
В Киеве башни «Sky Towers» у Центрального ЗАГСа взметнутся на 47 этажей вверх и уйдут на восемь вниз. Впервые для Киева здание строят сверху вниз – экскаваторы выкапывают нижние этажи под уже построенными!
Фундаменты:
♦ глубина заложения баррет – до 64,5 м;
♦ глубина заложения фундаментной плиты – 28 м;
♦ толщина «стены в грунте» – 1,2 м;
♦ глубина «стены в грунте» – от 50,5 до 53,5 м.
Барреты – глубокие опоры, изготовленные в грунте. Сначала бурят колодец, затем устанавливают арматуру и заливают бетон. Все это производится под давлением, при помощи бурового раствора (часто – бентонита). Применяются при строительстве на слабых грунтах (за счет большой глубины можно добраться до плотных слоев) и плотной застройки (отсутствуют вибрации, как при забивании свай).
«Стена в грунте» строится аналогично барретам – бурение, установка арматуры и бетонирование.
Технология возведения башен:
♦ Сооружается «стена в грунте» по периметру участка строительства.
♦ Заливаются фундаментные буроинъекционные сваи – барреты.
♦ Вырывается котлован до некоторой отметки – например, «-1» этаж. На дне котлована заливается междуэтажное перекрытие, а также перекрытие на уровень выше – они выполняют функцию двухъярусных распорок «стены в грунте». В перекрытиях оставляют технологические проемы.
♦ Экскаваторы выбирают грунт сначала в местах технологических проемов, а затем – под перекрытиями этажа, расположенного выше.
♦ Когда экскаваторы выбрали грунт на весь объем этажа, заливаются следующие перекрытия и процесс повторяется, пока строители не достигнут нижнего уровня по проекту. Когда весь грунт выбран и перекрытия залиты, уже традиционно, снизу вверх, заливаются технологические проемы (лифтовые шахты или пандусы паркинга).
В комплексе с барретами и «стеной в грунте» этот способ позволяет сохранить здания окружающей застройки. Это будет первое в Киеве здание выше 200 м, построенное в сложных геологических условиях, где потребовались глубокие и уникальные фундаменты по технологии top-down.
Погружение шпунтовых свай
При данной технологии используются сварные стальные шпунтовые сваи из элементов полукруглого профиля «сваи F-профиля».
Полукруглый профиль свай – это наиболее экономичная форма шпунтовых свай в сравнении с традиционными корытными и тавровыми сваями. Экономия достигается как за счет сокращения используемого металла, так и за счет уменьшения трудозатрат при монтаже свай.
При этом сваи из элементов полукруглого профиля обладают рядом преимуществ. Они способны выдерживать большие нагрузки, их момент сопротивления – до 12 000 см3 на погонный метр стенки. Сваи F6012 с моментом сопротивления 6000 см3 на погонный метр стенки применены при строительстве многофункционального комплекса у Московского вокзала в Санкт-Петербурге, что позволило отказаться от «стены в грунте» и выработки котлована по технологии top-down и вести выемку грунта открытым способом.
Ширина панелей из свай F-профиля может достигать 2 м, что влечет за собой сокращение циклов погружения. Техника не требует модернизации – при вибропогружении применяются обычные штатные зажимы для корытообразного профиля, а при забивке свай ударным методом используют простейшие наголовники.
Благодаря меньшей металлоемкости, сокращению рабочих циклов погружения из-за увеличения ширины профиля, ввиду его высокой оборачиваемости, т. е. возможности повторного использования, экономия может составлять 25–35 % по сравнению с применением обычных шпунтовых свай.
Сварные сваи и панели из элементов полукруглого профиля широко применяются в условиях плотной городской застройки для котлованов глубиной до 10 м без раскрепления и глубиной до 24 м с раскреплением или анкеровкой. Замки шпунтовых свай конструкции ПО «Берегсталь», обладая хорошей грунто– и водонепроницаемостью, обеспечивают надежную гидроизоляцию котлованов при возведении фундаментов.
Инновационные решения для свайного фундаментостроения
При участии Российской инженерной академии разработан комплекс оборудования для свайного фундаментостроения, обеспечивающий полномасштабное техническое оснащение новейших технологий свайного фундаментостроения.
Комплекс включает в себя комплект модельного ряда безударно погружаемых инъекционных устройств для изготовления железобетонных набивных свай всех типоразмеров без выемки земли, а также комплект модельного ряда универсальных вдавливающих устройств для безударного и бесшумного погружения забивных свай (всех типоразмеров) и свайных элементов. Данный комплекс уже применялся на ответственных социальных объектах (рис. 3.9).
Цель разработки комплекса – техническое обеспечение новейших быстрых технологий изготовления фундаментов из безударно-вдавливаемых железобетонных и виброинъекционных набивных свай. Техническое обеспечение должно быть направлено на повышение надежности и несущей способности применяемых ныне забивных и набивных свай, сокращение объемов земляных работ при одновременном уплотнении грунта (за счет устройства фундаментных колодцев без выемки земли), сокращение сроков и снижение стоимости изготовления фундаментов.

Рис. 3.9. Реконструкция 2-й сцены Мариинского театра СПб
Общие характеристики комплекса:
♦ вдавливающие устройства оснащены новыми зубчатыми инерционными полигармоническими самобалансными вибраторами, способными в широком диапазоне амплитуд и ускорений безударно и бесшумно (т. е. без динамических воздействий на окружающую среду) создавать вдавливающие усилия от десятков до сотен и даже тысяч тонн;
♦ конструкции универсальных погружающих устройств позволяют им быть как свободно подвесными на крюковых обоймах кранов, так и навесными – на широко распространенных копровых установках грузоподъемностью 3, 5, 10, 16 и 25 тс.
Первому направлению соответствует комплект модельного ряда высокопроизводительного унифицированного вибропробивного инъекционного устройства для изготовления железобетонных набивных свай без выемки земли.
Предлагаемые высокоамплитудные поличастотные погружающие устройства, оснащенные приводными вращающими механизмами, защищенными от внешних воздействий со стороны уплотняемого грунта, выгодно отличаются от существующих устройств тем, что способны обеспечить изготовление фундаментных колодцев в широком диапазоне диаметров и глубин, а также в несущих грунтах (без выемки самого грунта) при существенно большей производительности и меньших энергозатратах.
Отсутствие колебательных движений формообразующего корпуса при вдавливании его в грунт исключает утрамбовку грунта, что резко снижает лобовое сопротивление грунта и практически исключает передачу динамических нагрузок на близстоящие сооружения.
Был создан унифицированный ряд высокопроизводительных вибровдавливающих инъекционных устройств для изготовления колодцев (без выемки земли) и железобетонных набивных свай, например, – высокопроизводительное малоэнергоемкое навесное устройство, которое способно (без выемки земли) обеспечить: глубину колодцев (и сваи) – до 20 м; диаметры колодцев – 400, 530, 630, 820, 1020 и 1200 мм; время изготовления колодца и сваи – не более 15 мин; диапазон устанавливаемых мощностей – от 30 до 120 кВт; рабочий диапазон температур окружающей среды – от -25 °С до +40 °С. Источник энергии – сеть переменного тока напряжением 380/220 В, 50 Гц. Физический срок службы – не менее 10 лет. Расходы на материалы при эксплуатации – в среднем не более 10 000 руб. в год. Вибрационный и шумовой фон не превышает экологических норм.
Для погружения свайных элементов ныне известно значимое и широко применяемое до настоящего времени многообразие устройств (с использованием в качестве исполнительных зубчатых инерционных самобалансных вибраторов) ударного (вибромолоты), погружающего (вибропогружатели) и вдавливающего (комбинированные устройства) действия. Вибропогружающие устройства являются проверенным и отлично зарекомендовавшим себя оборудованием.
В Санкт-Петербурге применяют три типа свай в зависимости от инженерно-геологических условий площадки строительства (напластование, вид и характеристики грунтов):
♦ сваи, изготавливаемые с выемкой грунта;
♦ сваи, изготавливаемые с частичной выемкой грунта;
♦ сваи уплотнения, изготавливаемые без выемки грунта в результате его принудительного сжатия или вытеснения.
Способ устройства буроинъекционных свай по технологии Гидроспецстроя (микросваи)
Объем применения буроинъекционных свай (микросвай) за прошедшие годы вырос в десятки раз. Существенно обогатился опыт решения с их помощью сложных задач фундаментостроения. Разработаны новые технологические схемы устройства свай, создано новое отечественное и зарубежное оборудование, позволившее кардинально изменить ряд технологических операций и на этой базе повысить несущую способность свай и резко снизить трудоемкость изготовления.
В качестве Стандарта организации ЗАО «ПСУ Гидроспецстрой» приняты «Рекомендации по применению микросвай» или Стандарт организации СТО.
Рекомендации содержат классификацию свай в зависимости от их конструкции и технологии изготовления, указания по области применения, перечень технологического оборудования и материалов для изготовления свай, а также требования к расчету и проектированию фундаментов из микросвай (буроинъекционных свай).
Разнообразие конструкций и технологий устройства буровых свай диаметром до 35 см позволило выделить их в отдельный класс, названный в Рекомендациях «микросваями» по аналогии с американскими и европейскими нормами.
Микросваи (micropile по классификации Eurocode-7 и FHWA-SA -97-070 US) являются разновидностью буровых и набивных свай (по классификации СНиП 2.02.03–85). Они отличаются от традиционных буровых свай следующим:
♦ малым диаметром (d = 150–350 мм);
♦ большой гибкостью (L/d = 60—120);
♦ материалом ствола (мелкозернистый бетон);
♦ способом изготовления (инъекция бетонной смеси в скважину).
Микросваи, в зависимости от технологии их изготовления применяемой организации ЗАО «ПСУ Гидроспецстрой», подразделяются на следующие основные виды:
♦ сваи БИС (буроинъекционные сваи) – устраиваемые путем инъекции бетонной смеси в скважину без последующей опрессовки;
♦ сваи ГСС (Гидроспецстрой) – устраиваемые с опрессовкой свежеуложенной бетонной смеси дополнительной порцией бетонной смеси через устьевой тампон;
♦ сваи ПСШ – устраиваемые путем инъекции бетонной смеси в скважину через колонну «проходных секционных шнеков»;
♦ сваи micro CFA (Continues Flight Auger) – устраиваемые путем инъекции бетонной смеси в скважину через цельную колонну НПШ (непрерывно перемещаемых шнеков);
♦ сваи Геосмол (российский аналог свай Titan) – с буровой штангой, усиленной проволочной набивкой.
Технологические схемы устройства свай приведены на рис. 3.10—3.12.

Рис. 3.10. Буроинъекционные сваи, технологическая схема устройства ГСС:
I – бурение скважины шарошечным долотом с промывкой бентонитовым раствором;
II – извлечение буровой колонны;
III – замещение бурового раствора бетонной смесью;
IV – погружение армокаркаса и опрессовка сваи с устья.
1 – буровая колонна с шарошечным долотом;
2 – бентонитовый раствор;
3 – инъекционная труба;
4 – армокаркас

Рис. 3.11. Технологическая схема устройства свай ПСШ:
I – бурение скважины с применением проходных секционных шнеков;
II – извлечение буровой колонны с одновременной опрессовкой скважины через клапан шнека;
III – погружение арматурного каркаса в бетонную смесь.
1 – проходной шнек;
2 – клапан шнека;
3 – армокаркас

Рис. 3.12. Технологическая схема устройства свай micro CFA:
I – бурение скважины ввинчиванием буровой колонны НПШ (непрерывно перемещаемых шнеков);
II – извлечение без вращения буровой колонны с одновременным заполнением скважины через клапан шнека;
III, IV – погружение арматурного каркаса в бетонную смесь.
1 – буровая колонна НПШ;
2 – бетонная смесь;
3 – армокаркас
Стальные трубчатые сваи, открытые снизу
Применение открытых снизу стальных трубчатых свай способствует сокращению объемов и сроков производства строительных мероприятий, затрат рабочей силы и материала свай за счет более рационального функционирования поперечного сечения ствола под расчетной нагрузкой.

Рис. 3.13. Использование наконечников
Использование наконечников (рис. 3.13) позволяет расширить область применения трубосвай на большие их диаметры, на повышенные глубины погружения, труднопроходимые грунты и более полно использовать резервы трубосвай в части их несущей способности.
Способ сооружения пакета буронабивных свай
Под пакетом буронабивных свай понимается расположенная в заданном проектом геометрическом очертании последовательность устройства свай, например линейная, прямолинейная, криволинейная, замкнутого или разомкнутого очертания. Поставленная задача достигается тем, что в способе сооружения пакета буронабивных свай путем последовательного бурения ряда нечетных и ряда четных секущихся скважин для буронабивных свай на расстоянии, меньшем диаметра сваи, с последующим армированием буронабивных нечетных скважин каркасами из арматуры диаметром, на 10 · 15 % меньшим диаметра четного столба, и бетонированием. Первоначально бурят ряд скважин, армируют их каркасами, причем на двух диаметрально противоположных сторонах каждого каркаса для нечетных скважин со стороны, обращенной к месту размещения смежной четной скважины, по всей длине каркаса прикрепляют временными креплениями гибкие армированные рукава из воздухонепроницаемого материала, заглушенные снизу и имеющие снаружи антиадгезионное покрытие. Данное покрытие при бетонировании сваи заполняют газом или смесью газов до давления, не менее давления гидростатического столба бетонной смеси у основания сваи, и выдерживают их под давлением до отвердевания бетона с образованием в нем пазов с длиной дуги в поперечном сечении не более половины периметра армированного рукава, образующей по длине сваи участок эллиптической или круговой цилиндрической поверхности. После чего из рукавов стравливают газ и их извлекают из нечетных скважин, далее производят бурение четных скважин с использованием образованных в нечетных сваях пазов в качестве направляющих, их армирование и бетонирование в них четных свай (рис. 3.14). При этом в армированные рукава можно подавать газ или смесь газов, нагретых до температуры, превышающей температуру окружающей среды. Армированные рукава одного арматурного каркаса могут заполнять одновременно, предпочтительно, объединив их тройником с источником газа.

Рис. 3.14. Бурение четных скважин с использованием образованных в нечетных сваях пазов в качестве направляющих, их армирование и бетонирование в них четных свай. Форшахта 1 с направляющими отверстиями для нечетных 2 и четных 3 скважин, каркасы арматуры 4, гибкие армированные рукава 5
Способ устройства инъекционной сваи
Способ устройства инъекционной сваи (рис. 3.15) включает устройство скважины без извлечения грунта путем вдавливания наконечника и инъектирование твердеющего закрепляющего раствора через инъекторную трубу. Новым является то, что используют перфорированную по всей длине инъекторную трубу, на конце которой закреплен конусный наконечник, состоящий из диска и режущих пластин, края которых выступают за основание диска, диаметр которого больше диаметра инъекторной трубы, и в грунт вдавливают инъекторную трубу с наконечником с одновременным нарезанием на стенках скважины продольных пазов и образованием зазора между стенками образуемой скважины и инъекторной трубой, а по окончании процесса инъектирования инъекторную трубу с наконечником оставляют в скважине. Таким образом повышается технологичность, несущая способность сваи при снижении сроков ее возведения.

Рис. 3.15. Способ устройства инъекционной сваи:
1 – инъекторная труба;
2 – конусный наконечник;
3 – режущие пластины;
4 – сквозные фланцы;
5 – отверстия;
6 – пробка;
7 – нагрузка;
8 – уплотненная зона