Читать книгу "Современные технологии строительства и реконструкции зданий"
Автор книги: Геннадий Бадьин
Жанр: Отраслевые издания, Бизнес-Книги
Возрастные ограничения: 12+
сообщить о неприемлемом содержимом
Сваи вдавливания
В настоящее время появились сваевдавливающие установки, в составе которых крановая установка, пресс-группа, закрепленная на раме, с полыми опорными передвигающимися продольными и поперечными платформами, которые могут заполняться жидкостью и служить пригрузом с созданием усилия вдавливания до 3600 кН.
Преимущества технологии вдавливания свай заводского изготовления:
♦ контроль качества конструкции ствола сваи проводится до ее погружения;
♦ обеспечение высокой точности погружения, особенно при использовании лидерного бурения;
♦ исключены вибрационные воздействия как на расположенные рядом здания и сооружения, так и на саму конструкцию сваи;
♦ усилие вдавливания зависит от веса машины и может быть увеличено добавлением груза до 100–160 т; технология позволяет вести погружение свай в предварительно пробуренные скважины (использование лидерного бурения), что значительно снижает необходимое усилие вдавливания;
♦ практически полная бесшумность работы обеспечивается электрогидравлическим приводом машины;
♦ возможности проведения непрерывного контроля усилия вдавливания, а следовательно, и оценки несущей способности погружаемой сваи.
На стройках появилось оборудование для вдавливания шпунта на базе кранового оборудования ДЭК весом до 15 т, оно позволяет производить вдавливание шпунтовых свай собственным весом (рис. 3.16).

Рис. 3.16. Способ устройства инъекционной сваи
При вдавливании шпунта Z-профиля используется копровая машина, имеющая специальную навеску, позволяющую выполнять вдавливание шпунта в виде кассет из 4-шпунтовых свай, заранее собранных вместе на стенде.
Японские установки могут создавать усилие вдавливания до 1100 кН и погружать шпунтовые сваи со скоростью от 1,5 до 35 м/мин.
Буроинъекционные сваи
Буроинъекционные сваи преимущественно используются при усилении оснований и фундаментов существующих реконструируемых и реставрируемых зданий и сооружений, в частности памятников архитектуры. Помимо этого, буроинъекционные сваи могут применяться и при строительстве новых сооружений рядом с существующими зданиями.
За рубежом их называют «корневидными сваями» из-за формы ствола, имеющего по длине многочисленные местные уширения, получаемые при нагнетании раствора в скважину под давлением. Буроинъекционные сваи обладают большим относительным заглублением, которое характеризует отношение длины сваи к ее диаметру.
По окончании цементации скважину выдерживают в течение 2–3 суток.
Давление нагнетания при цементации фундаментов не превышает 0,1 МПа, при цементации зоны контакта – 0,2 МПа. Нагнетание прекращают, если расход цементационного раствора в течение 10 мин при давлении 0,2 МПа не превышает 1 л/мин.

Рис. 3.17. Буроинъекционные сваи
Технологический цикл устройства буроинъекционных свай (рис. 3.17): Бурение кладки фундаментов и (в случае необходимости) стен.
♦ Установка трубы-кондуктора.
♦ Бурение скважины в грунте до проектной отметки.
♦ Заполнение скважины раствором.
♦ Установка арматурного каркаса.
♦ Опрессовка скважины.
Глава 4. Защита и усиление сооружений
В настоящее время в эксплуатации находится большое количество различных зданий и сооружений. Многие из этих объектов, особенно эксплуатируемые в условиях повышенной агрессивности внешней среды, приходят в неудовлетворительное состояние через 15–20 лет работы и требуют ремонта. Помимо этого возникает потребность в усилении сооружений при реконструкции, в связи с изменением технологических процессов и нагрузок на конструкции.
В настоящих рекомендациях представлены различные способы ремонта и усиления конструкций инженерных сооружений. Глава содержит общие методы ремонта строительных конструкций, примеры усиления и восстановления конструкций инженерных сооружений.
Укрепление оснований и фундаментов
Метод восстановления трубопроводовМетод полимерного рукава при ремонте трубопроводов показан на рис. 4.1.

Рис. 4.1. Метод полимерного рукава при ремонте трубопроводов
Технически метод прост: рукав, изготавливаемый из нескольких слоев полиэфирного волокна, пропитывается полиэфирными или эпоксидными смолами, монтируется бестраншейно в старый трубопровод и полимеризуется на месте, образовывая прочную трубу, вплотную прилегающую к старому трубопроводу.
Примеры:
♦ восстановление канализационных коллекторов сложной формы и большого диаметра (до 2000 мм);
♦ восстановление трубопроводов напорного водоснабжения большого диаметра (до 2000 мм);
♦ восстановление трубопроводов в стесненных условиях городской застройки.
Метод позволяет полностью обойтись без земляных работ или существенно ограничить их объем.
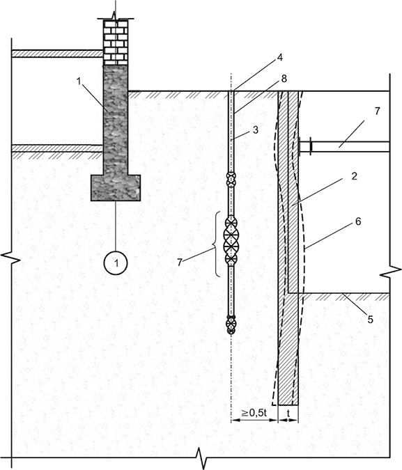
Способ защиты свайного фундамента от морозного пученияСпособ предусматривает вмораживание фундамента в грунтовое основание, которое осуществляют путем искусственного промораживания массива окружающего фундамент грунта ниже глубины сезонного промерзания, причем искусственное промораживание массива грунта начинают при установлении отрицательной среднесуточной температуры окружающего воздуха и промораживают с каждой стороны фундамента массив грунта, равный двойной ширине фундамента, причем глубину зоны промораживания определяют на основании приведенной зависимости. Техническим результатом является упрощение технологии осуществления способа защиты фундамента от морозного пучения, а также снижение трудоемкости и стоимости при повышении эффективности и надежности способа.
Пример 1. Вокруг трубчатой металлической сваи диаметром 325 мм, заглубленной на 8 м, на расстоянии 0,6 м были установлены 4 СОУ парожидкостного типа с термоизолированным соединительным теплопроводом на глубину 3,5 м, что соответствовало середине глубины промораживаемой зоны, мощность которой при глубине сезонного естественного промерзания 2,0 м была принята 3,0 м.
При установлении отрицательной среднесуточной температуры наружного воздуха СОУ автоматически включились в работу, и начался процесс промораживания грунта вокруг сваи. Через 10 суток температура грунта в промораживаемой зоне достигла -3 °С, а за последующие 20 дней составила -6° С. После промерзания грунта в заданном интервале глубины от -2,0 до 5,0 м произошло дальнейшее понижение температуры мерзлого грунта до -8 °С, увеличение прочности его смерзания со сваей и сил, удерживающих сваю от выпучивания. Процесс промораживания контролировался с помощью наблюдательных температурных скважин, пробуренных в зоне промораживания. Как в период искусственного промораживания, так и в течение последующего зимнего сезона перемещения сваи не наблюдалось.
Пример 2. Был применен также физико-химический способ повышения прочности смерзания грунтов основания со сваей. Он заключался во введении в грунтовый массив перед промораживанием водного раствора поливинилового спирта (ПВС) 1 % концентрации. Результаты испытания сваи на выдергивающую нагрузку показали, что удерживающие силы для песков повысились в 4 раза, а для суглинков – в 5 раз.
Предохранение фундамента от морозного пучения описанным способом упрощает, сокращает и ускоряет технологические операции, не требует выполнения большого объема трудоемких земляных работ по замене пучинистых грунтов в основании фундамента.
Предлагаемое техническое решение может быть эффективно использовано при строительстве новых и эксплуатационном обслуживании существующих объектов, при противоаварийных мероприятиях на линиях электропередач в сложных климатических и геокриологических условиях северных районов.
Способ выравнивания сооруженийСпособ выравнивания сооружений (рис. 4.2) включает замораживание, оттаивание грунта и его экскавацию. В основании фундамента бурят управляющие и выпускные вертикальные скважины, замораживание и оттаивание грунта осуществляют, опуская в управляющие скважины поочередно замораживающие и нагревательные элементы. Экскавацию грунта осуществляют через выпускные скважины путем выдавливания полученной пасты под действием веса выравниваемого сооружения. В случае бесскважинной технологии замораживание и оттаивание грунта осуществляют при циклическом охлаждении-нагреве фундамента за счет изменения температуры окружающей среды, с утеплением части фундамента в зимний период, а экскавацию грунта осуществляют путем выдавливания полученной пасты под действием веса выравниваемого сооружения. Технический результат состоит в упрощении технологии выравнивания крена при сокращении мокрых технологических процессов.

Рис. 4.2. Способ выравнивания сооружений: 1 – фундамент; 2 – грунт; 3 – скважина; 4 – выпускные скважины; 5 – вентиль; 6 – охлаждающий элемент; 7 – компрессор
Способ исправления положения здания, сооружения, подвергшегося неравномерному морозному пучениюПо данному способу поочередное замораживание и оттаивание грунта осуществляют в пределах слоя сезонного промерзания грунта вокруг свай, выпученных на величину, не превышающую разности максимальной и минимальной величин выпучивания свай фундамента. Вокруг свай, выпученных на величину, превышающую вышеупомянутую разность, осуществляют замораживание грунта ниже глубины его сезонного промерзания с защемлением нижних концов этих свай в промороженном грунте для исключения их дальнейшего выпучивания. Причем фиксацию положения здания, сооружения осуществляют после его выравнивания, а поочередное замораживание и оттаивание грунта в пределах слоя его сезонного промерзания прекращают. Замораживание грунта ниже глубины его сезонного промерзания с защемлением нижних концов свай в промороженном грунте осуществляют постоянно или с перерывами, начало и конец которых определяют путем замера температуры промороженного грунта при достижении ею значений, равных соответственно –5 и –0,5 °C. Замораживание осуществляют с помощью термоустройств.
Техническое решение может быть эффективно использовано при ремонтно-восстановительных работах с широким распространением сезоннопромерзающих пучинистых грунтов.
Способ усиления фундамента зданияСпособ усиления фундамента здания, сооружения предусматривает пересадку фундамента на выносные и/или подводимые под его подошву сваи и включает размещение трубчатых секций свай соответственно под фундаментом, преимущественно в образованных в нем или в стене штрабах, и/или над выносными, преимущественно внутрь здания, за контур фундамента в плане балками. Далее осуществляют вдавливание секций сваи, их соединение с последующей секцией трубчатой муфтой и бетонирование голов сваи. Новым является то, что перед вдавливанием секцию сваи размещают в инвентарной кольцевой обойме гидравлического домкрата, длина которой не более длины секции сваи, а ее внешний диаметр превышает диаметр секции сваи, по крайней мере, на 10 мм, вдавливание последней секции сваи осуществляют на величину, не превышающую длину инвентарной кольцевой обоймы, а после вдавливания последней секции сваи кольцевую обойму извлекают и одновременно с бетонированием голов свай бетонируют образованную после извлечения кольцевой обоймы полость.
Грунтовые анкерыГрунтовые анкеры (рис. 4.3) обычно выполняют для удержания борта котлована или для повышения устойчивости откосов. Ограждение котлована с анкерами позволяет производить работы в котловане без каких-либо ограничений, в отличие от применения распорной системы, когда приходится работать в стесненных условиях.
Устройство грунтовых анкеров можно выполнять по различным технологиям.

Рис. 4.3. Устройство грунтовых анкеров
Противофильтрационные завесыПротивофильтрационные завесы (водонепроницаемые ограждения) применяют при строительстве подземных автостоянок в близости, а чаще непосредственно под строящимися административными или жилыми зданиями.
При строительстве котлованов в обводненном состоянии применяется традиционный способ «стены в грунте» или опускной крепи до водоупора с последующей разработкой грунта под защитой водонепроницаемого ограждения (рис. 4.4 и 4.5).

Рис. 4.4. Крепление бортов котлована

Рис. 4.5. Крепление дна котлована
Способы закрепления слабых грунтов
Закрепление грунта совместным затвердеванием грунтоцементной и буронабивной свайНа участке, отведенном под строительство, проводят инженерно-геологические работы с определением количества, порядка залегания толщины и свойств грунта. В случае выявления наличия среди слоев грунта геологического элемента с просадочными свойствами, в нем возводят буронабивную сваю с использованием обсадной трубы путем полного замещения грунта бетонной смесью, а в остальных геологических элементах грунтового массива возводят грунтоцементные сваи по струйной технологии. В зависимости от порядка залегания слоев грунта в геологическом разрезе происходит чередование различных этапов закрепления грунта (осуществление заходок) – по струйной технологии или возведением буронабивной сваи. Каждую следующую заходку осуществляют после того, как свая, возведенная предыдущей находкой, наберет прочность, достаточную для удержания закрепляемого при последующей заходке грунта. Буронабивные и грунтоцементные сваи возводят соосно.
Пример. Геологические изыскания грунта под площадкой, планируемой под строительство, показали наличие полости над коренным грунтом на глубине 9,6 м, высотой 0,85 м, а также слои слабого текучепластичного суглинка. Первой заходкой по закреплению грунта помещают обсадную трубу диаметром 1,3 м с опорой на коренной грунт, внутрь и на дно которой помещают шнек, в процессе подъема которого изымают проблемный грунт одновременно с полной заменой его на закачиваемую под пяту шнека бетонную смесь, на длину 1,0 м. Обсадную трубу и шнек вынимают. Через 12 ч после окончания закачивания бетонной смеси в процессе последующей второй заходки возводят соосно с буронабивной грунтоцементную сваю по однокомпонентной струйной технологии диаметром 1 м, длиной 8,6 м. Совместное затвердевание грунтоцементной и буронабивной свай позволяет повысить качество и несущую способность сваи, возводимой из закрепленного грунта, в том числе за счет дополнительно возникающих сил трения (за счет частичного взаимопроникновения грунтоцемента и бетона), а также существенно (на 80 %) сэкономить расход бетона за счет укрепления грунта по струйной технологии, вместо сооружения сплошной буронабивной сваи длиной 9,6 м.
Таким образом, предложенный способ закрепления грунта позволяет повысить степень закрепления и несущую способность грунта. Использование закрепленного по предложенному способу грунта в качестве основания, например туннеля, позволяет значительно (до 40 %) снизить расход бетона на возведение несущих конструкций вновь строящегося сооружения и сократить сроки строительства.
Способ глубинного компенсационного уплотнения грунта
Рис. 4.6. Рабочая скважина, по глубине которой осуществляют глубинное компенсационное уплотнение грунта в пределах границ вновь обнаруженных зон аномально легко уплотняющегося грунта:
1 – подземная часть охраняемого здания (существующего) здания (сооружения);
2 – конструкция ограждения проектируемого подземного объекта: котлована (стена в грунте, буросекущиеся сваи, бурокасательные сваи, дискретно установленные сваи), обделки тоннеля;
3 – пластичный твердеющий материал;
4 – устье скважины;
5 – дно проектируемого котлована;
6 – граница расчетной (или фактической установленной по результатам мониторинга за перемещением контрольных марок) деформации конструкции 2 ограждения котлована;
7 – элемент крепления конструкции ограждения котлована (показана распорка, но может быть грунтовый анкер, подкос и т. п.);
8 – рабочая скважина
Целью является повышение надежности, качества и технологичности создания противодеформационного барьера, снижение трудоемкости работ по обеспечению сохранности зданий, расположенных в зоне влияния работ по устройству глубокого котлована, при минимальном расходе ресурсов и максимально возможном использовании свойств массива грунта. Поставленную задачу решает способ глубинного компенсационного уплотнения грунта при строительстве подземного объекта (рис. 4.6) путем компенсационного уплотнения грунта со стороны охраняемого сооружения, отличающийся тем, что у строящегося подземного объекта со стороны охраняемого сооружения по глубине массива грунта выявляют зоны легкоуплотняемого грунта, в которые подают твердеющий материал под гидростатическим давлением и последовательно (поочередно) в каждой выявленной зоне по глубине массива осуществляют глубинное компенсационное уплотнение грунта дискретными динамическими импульсами до достижения отказа уплотнения грунта, добавляя по мере необходимости твердеющий материал.
Способ закрепления переувлажненных глинистых и просадочных грунтов
Рис. 4.7. Закрепление водонасыщенных грунтов с одновременной подачей виброшаблона и наполнителя в полость (а), подача инъектора и инъектирование через материал формирующейся цементо-грунтовой сваи (б): 1 – переувлажненный глинистый грунт; 2 – шаблон; 3 – вибратор; 4 – вертикальная или наклонная полость; 5 – песчано-цементная смесь; 6 – формируемая свая; 7 – слабые просадочные грунты; 8 – инъектор; 9 – твердеющий раствор; 10 – контакт
Технология закрепления переувлажненных глинистых и просадочных грунтов (рис. 4.7) включает выполнение в переувлажненных грунтах вертикальной или наклонной полости и формирование в ней сваи путем заполнения этой полости несвязным наполнителем с последующим его втрамбовыванием и уплотнением. Полость выполняют вибропогружением шаблона, в качестве заполнителя в полость вносят водопоглощающий субстрат в виде песчано-цементной смеси, который отверждают водой, содержащейся в переувлажненном грунте. Диаметр сваи и ее несущую способность регулируют временем вибротрамбования и объемом втрамбованного субстрата. Ниже подошвы формирующейся сваи через материал этой сваи с помощью вибратора забивают инъектор на проектную глубину и, поднимая инъектор с теряемым наконечником, одновременно нагнетают твердеющий раствор. Выполнение всех операций по инъектированию осуществляют в течение 3–4 часов, что составляет 50–70 % от времени окончания гидратации цемента, при котором идет процесс кристаллизации. Технический результат состоит в повышении технологичности, обеспечении закрепления слабых просадочных грунтов, лежащих ниже подошвы сооружаемой сваи, сокращении материалоемкости.
Устройство малозаглубленных фундаментов на пучинистых грунтахФундаменты мелкого заложения ФМЗ (рис. 4.8) используются в отапливаемых и неотапливаемых одно– и двухэтажных жилых и общественных зданиях.
К таким конструкциям относятся фундаменты на грунтовой подушке, подошва которых закладывается на глубину 0,4 м – в отапливаемых зданиях и на 0,3 м – в неотапливаемых, а также под отдельно стоящие опоры.

Рис. 4.8. Фундаменты на грунтовой подушке
Во избежание деформации фундамента при сезонном промерзании грунта предусматривают устройство теплоизоляции из пенополистирольных плит для уменьшения глубины промерзания грунта под подошвой фундамента. В отапливаемых зданиях теплоизоляцию размещают вертикально по внешней поверхности фундамента и цокольной части стены на высоту не менее 1 м от подошвы фундамента (рис. 4.9).

Рис. 4.9. Схема укладки и параметры теплоизоляции в фундаментах отапливаемых зданий с теплоизоляцией пола: 1 – фундамент; 2 – стена здания; 3 – пол здания; 4 – горизонтальная теплоизоляция (KNAUF Therm® Floor / KNAUF Therm® 5 в 1 F); 5 – вертикальная теплоизоляция (KNAUF Therm® Floor / KNAUF Therm® 5 в 1 F); 6 – защитное покрытие; 7 – песчаная подготовка под отмостку; 8 – асфальтовая или бетонная отмостка; 9 – непучинистый грунт; 10 – дренаж; 11 – теплоизоляция пола
Зачастую уровень грунтовых вод находится выше глубины промерзания, что приводит к замерзанию воды в грунте и, при превращении ее в лед, к увеличению в объеме примерно в 10 раз. Возникающие при этом силы расширения (называемые «морозным пучением») направлены вверх и стремятся вытолкнуть фундамент из грунта, постепенно его разрушая год за годом.
Для нейтрализации этого процесса вместо наращивания массы и избыточной прочности фундамента применяется эффективное современное комплексное решение: утепление внешних стен фундамента, устройство утепленной отмостки вокруг здания теплоизоляционными плитами.
Это позволяет вывести область отрицательных температур из-под фундамента и исключить воздействие на него сил «морозного пучения».
Укрепление грунтов методом «Геокомпозит»Метод укрепления слабых грунтов путем инъектирования растворов типа «Геокомпозит» (рис. 4.10) основан на управляемом инъектировании расчетных объемов твердеющих растворов по специальной технологической схеме. В радиусе 1,5–2 м от инъектора раствор заполняет трещины и пустоты, уплотняет рыхлый грунт и формирует в процессе твердения раствора жесткий армирующий каркас, образуя включения цементного камня. Рыхлые фрагменты грунтового массива уплотняются давлением инъектируемого раствора. Чем больше давление, тем лучше становятся физико-механические характеристики грунтов.

Рис. 4.10. Метод укрепления слабых грунтов путем инъектирования растворов типа «Геокомпозит»: 1 – инъектор; 2 – соединительный шланг; 3 – насос для нагнетания раствора; 4 – емкость для раствора; 5 – слабый грунт; 6 – элементарная ячейка композита; 7 – горизонтальный защитный экран; 8 – пакер
Укрепленный таким образом грунтовый массив является принципиально новым техногенным образованием – геотехногенным композитом (геокомпозитом), обладающим высокой степенью жесткости и корневидной структурой, напоминающей корни дерева.
Метод «Геокомпозит» можно использовать для любых сжимаемых грунтов, в том числе водонасыщенных.
Внимание! Это не конец книги.
Если начало книги вам понравилось, то полную версию можно приобрести у нашего партнёра - распространителя легального контента. Поддержите автора!