Автор книги: Евгений Костенко
Жанр: Техническая литература, Наука и Образование
сообщить о неприемлемом содержимом
Текущая страница: 8 (всего у книги 17 страниц) [доступный отрывок для чтения: 4 страниц]
Сварочные материалы, к которым относятся электроды, флюсы, сварочная проволока, могут быть первопричиной брака при сварке, если их хранение не организовано. Поэтому к хранению сварочных материалов предъявляются определенные требования. Электроды, флюсы, сварочная проволока должны храниться в специальных сухих отапливаемых помещениях при температуре не ниже 18 °С и относительной влажности не более 50 %.
Сварочные электроды и флюсы, как правило, на месте подвергаются прокалке или просушке по режимам, приведенным в паспортах или ТУ, разработанных заводом-изготовителем, например: электроды марки МР-3 прокаливают при температуре 170—200 °С в течение 1,5 ч; электроды марки УОНИ 13/45 – при температуре 350—400 °С в течение 1,5 ч; флюсы ОСЦ—45 и АН—348 прокаливают при температуре 300– 400 °С в течение 5 ч. После прокалки или просушки электроды должны быть использованы в течение ближайших 5 сут, а флюсы – в течение 15 сут. Прокалка электродов может быть произведена не более 2 раз, не считая прокалку при изготовлении. В противном случае электроды либо вновь отсыреют, либо в процессе третьей или четвертой прокалки обмазка будет отслаиваться или осыпаться.
Сварочная проволока должна храниться в условиях, исключающих ее загрязнение и окисление. Не всегда это удается выполнять в производственных условиях, поэтому в цехах применяют специальные зачистные машины для подготовки сварочной проволоки перед сваркой. Сварочная проволока для сварки алюминиевых сплавов приходит к потребителю протравленной химическим способом, кассеты с проволокой упаковывают в герметически запаянные полиэтиленовые пакеты, откуда предварительно откачивают воздух.
Защитные газы хранят и транспортируют преимущественно в баллонах емкостью 40—50 дм3 (литров) при давлении 15 МПа, а жидкую углекислоту – до 6 МПа.
Для предохранения от коррозии и быстрого опознания баллоны, согласно требованиям существующих нормативных документов, окрашиваются в различные цвета и имеют соответствующие надписи (табл. 31).
Таблица 31
Окраска баллонов для газов и надписи на них

Наряду с баллонным снабжением сварочных постов защитными газами применяют танки-газификаторы для углекислого газа, аргона и кислорода. Газы перекачивают в специальные хранилища, откуда по магистралям газы поступают на рабочие места. Трубопроводы окрашивают в цвета, аналогичные цветам баллонов. Однако там, где не требуется большого расхода газов, применяется традиционная баллонная система питания сварочных постов и для рампового питания небольших цехов или участков. Транспортировка газов производится с соблюдением инструкций, регламентирующих квалификацию спецводителя: ограниченные по времени стоянки; поддержание определенного давления при вынужденных и аварийных остановках и другие специальные условия, связанные с эксплуатацией специальных автоцистерн.
Контрольные вопросы:
1. Какие требования предъявляются к условиям хранения электродов, флюсов и электродной проволоки и почему?
2. Какие требования предъявляются к условиям хранения и перевозки защитных газов?
3. В какие цвета окрашиваются баллоны для хранения аргона, углекислоты и кислорода?
Глава 5
ТЕХНОЛОГИЯ РУЧНОЙ ДУГОВОЙ СВАРКИ
1. Подготовка металла под сваркуИсходным металлом для производства сварочных работ является прокат, литье, поковки. Чаще всего на машиностроительных предприятиях металл получают от завода-изготовителя в виде проката: лист, лента, полоса, труба, уголок и другой гнутый профиль. После получения металла со склада на заготовительном участке его подвергают первоначальной обработке: зачистке, правке и вырезке заготовок из тяжелых и громоздких кусков листового и профильного проката для облегчения транспортировки заготовок и дальнейших операций по изготовлению деталей. Нарезанные заготовки подвергают предварительной правке и последующей зачистке поверхности от загрязнений, ржавчины и окалины на дробеструйных установках.
Правку проката производят, как правило, в холодном состоянии на правильных станках или вручную на правильных плитах.
Вырезку заготовок осуществляют в большинстве случаев на отрезных станках по упорам. Наиболее распространенным способом резки низкоуглеродистых сталей является газопламенная (кислородная) резка.
Изготовление деталей после предварительной обработки осуществляется рядом последовательных технологических операций: разметка, резка, штамповка, зачистка, правка, подготовка кромок шли отбортовка и гибка деталей.
Разметка представляет собой нанесение на металл конфигурации заготовки. Разметку осуществляют с припуском. Припуск – это разность между размером заготовки и чистовым размером детали. Припуск снимают при последующей обработке. Для разметки применяют разметочные столы или плиты необходимых размеров.
Разметку осуществляют с помощью различных инструментов: стальной метр, стальная рулетка, металлическая линейка, чертилка, кернер, циркуль, штангенциркуль, рейсмус, угольник и др. Для получения более четкого очертания заготовки поверхность металла предварительно закрашивают белой клеевой краской. При большом количестве заготовок или деталей разметку производят по плоским шаблонам с припуском на последующую обработку. Чертилкой обводят контур детали, а затем накернивают по всей длине линии обвода с шагом 50—100 мм между кернами.
Резка осуществляется кислородными резаками по намеченной линии контура детали вручную или газорезательными машинами специального назначения. Резка на механических станках более производительна и обладает высоким качеством реза. Для механической прямолинейной резки листового металла применяются пресс-ножницы для продольной и поперечной резки.
Штамповка заготовок осуществляется в холодном или горячем состоянии. Холодную штамповку применяют для тонколистового металла толщиной 6—8 мм. Для металла толщиной 8—10 мм применяют горячую штамповку (с предварительным подогревом).
Зачистка металла осуществляется для удаления заусенцев с кромки деталей после штамповки, а также для удаления с поверхности кромок окалины и шлаков после кислородной резки. Для зачистки мелких деталей используют стационарные установки с наждачными кругами. Для зачистки крупногабаритных деталей применяют переносные пневматические или электрические шлифмашинки.
Правка деталей и заготовок осуществляется на листоправильных вальцах или вручную на плите при возможном искривлении их в процессе кислородной резки или резки на механических ножницах. Правку тонколистового металла производят в холодном состоянии на листо-правильных вальцах или прессах. Правку толстолистового металла производят в горячем состоянии вручную на правильных плитах.
Подготовку кромок деталей из низкоуглеродистой стали большой толщины осуществляют кислородной резкой или обработкой на строгальных или фрезерных станках.
Отбортовка кромок применяется для деталей из тонколистового металла для последующего стыкового соединения. Эту операцию производят на кромкогибочных прессах или специальных станках.
Непосредственно перед сваркой осуществляется дополнительная очистка деталей механическими или химическими способами. Наиболее прогрессивным способом очистки деталей является травление в растворах кислот или щелочей.
Гибка деталей и заготовок производится на металлогибочных вальцах, как правило, для изготовления различных емкостей цилиндрической формы. Деталь приобретает форму цилиндра и называется обечайка. Гибка деталей для получения других геометрических форм осуществляется на специальных станках или установках.
Однако не всегда представляется возможным осуществлять подготовку металла под сварку с применением промышленного оборудования, например, в условиях строительно-монтажных работ, где детали собираются в узды и подгоняются по месту.
Основные приемы технологии подготовки деталей под сварку (правка полосы и листа) приведены на рис. 36. Берется деталь и «на глаз» определяется ее кривизна или выпуклость (рис. 36, а), мелом отмечаются границы дефектов. Деталь кладется на правильную плиту (рис. 36, б) и молотками наносятся удары от края к середине выпуклости до полного и плотного прилегания поверхности детали к поверхности плиты (рис. 36, в, г).
Правка полосы с изгибом в виде спирали показана на рис. 37. Один конец заготовки (2) зажимается в тиски (1), второй конец – в ручные тисочки (3). Рычагом (4) полоса раскручивается до ее выправления.
Гибка деталей из полосового металла показана на рис. 38. Размечается линия гибки, деталь (4) устанавливается в тиски (1) с оправкой (3) и подложкой (2). Ударами молотка деталь загибают на угол 90° (рис. 38, а) или на другой заданный угол (рис. 38, б).
Гибка труб в холодном и горячем состояниях показана на рис. 39. Гибочную оправку (1) закрепляют к верстаку (2) скобами (3) с двух сторон (рис. 39, а). Трубу вставляют в желоб оправки и под хомут (4). Плавно нажимая руками, свободный конец трубы сгибают по шаблону. На рис. 39, б показана гибка трубы в приспособлении. Труба (1) вставляется в приспособление между подвижным роликом (2) и роликом-шаблоном (5) так, чтобы конец трубы вошел в хомутик (6). Плавно нажимая рукоятку (3), поворачивают скобу (4) вокруг неподвижного ролика-шаблона (5) до тех пор, пока труба не изогнется на нужный угол. При гибке трубы в нагретом (горячем) состоянии место изгиба трубы размечается мелом по шаблону. Один конец трубы закрывается заглушкой, труба заполняется песком (сухим, просеянным через сито). Второй конец трубы забивается заглушкой с отверстием для выхода газов. Труба вставляется в приспособление, нагревается пламенем горелки и изгибается по копиру.

Рис. 36. Правка полосы и листа

Рис. 37. Правка полосы в виде спирали

Рис. 38. Гибка деталей из полосового металла

Рис. 39. Гибка труб в холодном состоянии

Рис. 40. Разметка по шаблону и угольнику

Рис. 41. Кернение
Разметка по шаблону и по угольнику показана на рис. 40. Пластина (1), покрытая меловым раствором, кладется на разметочную плиту (2). На пластину накладывается шаблон (3) (рис. 40, а), чертилкой (4) прочерчивается по контуру шаблона риска.
Разметку по угольнику можно производить только тогда, когда одна сторона имеет ровную обработанную поверхность (рис. 40, б). Угольник накладывается на размеченную поверхность детали и чертилкой наносятся риски в соответствии с чертежом детали. Угольник передвигается вдоль обработанной стороны.
После нанесения рисок производится накернивание для сохранения очертания профиля заготовки.
Кернение показано на рис. 41. Берется кернер (рис. 41, а) и острым концом устанавливается в центр разметочной риски (рис. 41, б). Поставить кернер необходимо вертикально (рис. 41, в) и затем нанести мягкий удар молотком.
Резка металла ножовочным полотном показана на рис. 42. Чертилкой или мелом наносятся линии реза. Детали закрепляются в тисках, напильником делается пропил глубиной 1– 1,5 мм. Ножовочный станок устанавливается полотном в пропил и производится резка.
При резке тонколистового металла полотно ножовки устанавливают под углом 90' по отношению к корпусу станка ножовки.
Резка трубы труборезом показана на рис. 43. Отмечается мелом место резания по окружности трубы. Трубу (1) устанавливают в прижиме (2) между угловой выемкой основания прижима и сухарем (5), вращая рукоятку (3) с винтом (4). Подводится труборез (8) к месту разрезания. Подвижный ролик (6) подводится до соприкосновения со стенками трубы вращением рукоятки (7) трубореза по часовой стрелке. Труборезом делают один оборот вокруг трубы.
Подвинув рукоятку трубореза на 1/4 оборота по часовой стрелке, вращают труборез и прорезают трубу на пол—оборота. После каждого вращения трубореза на пол—оборота рукоятку трубореза подворачивают на 1/4 оборота и так до полного отрезания трубы. Место реза смазывают маслом для охлаждения режущих кромок роликов.
Рубка металла по разметке на плите показана на рис. 44.

Рис. 42. Резке металла ножочным полотном

Рис. 43. Резка трубы труборезом

Рис. 44. Рубка металла по разметке на плите:
1 – деталь (заготовка); 2 – плита; 3 —разметочная линия; 4 – отверстия под вырубку заготовки
Детали устанавливаются на плите, наковальне и рельсе. Мелом отмечаются места рубки. Зубило устанавливают вертикально на риску (рис. 44, в) и разрубают деталь (рис. 44, а). Толстый листовой металл детали подрубают на половину толщины с обеих сторон. При рубке круглой заготовки ее необходимо поворачивать после каждого удара (рис. 44, б). Вырубание заготовок производят по разметке или по перемычкам отверстий заготовки (рис. 44, г, д).
Подготовка металла под сварку с отбортовкой кромок показана на рис. 45. Чертилкой намечается линия гибки (рис. 45, а). Деталь устанавливают в тиски так, чтобы разметочная риска выходила за губку тисков (рис. 45, б). Тупо заточенным зубилом подгибают кромку мягкими ударами молотка (рис. 45, в, г, д). Окончательную гибку завершают молотком по подогнутым кромкам до загиба кромки на угол 90° (рис. 45, е, ж).
Подготовка металла под сварку с разделкой кромок показана на рис. 46. Деталь размечают под разделку кромок по заданным размерам (рис. 46, а). Устанавливают в тиски и зубилом срубают кромку по разметке (рис. 46, б, д). Размеры после снятия кромок проверяют шаблоном (рис. 46, в, г).
Опиливание напильником кромок при подготовке деталей под сварку показано на рис. 47. Подготовленные детали после обработки кромок зубилом (рис. 47, а) обрабатываются напильником (рис. 47, б). После опиливания кромок их размеры проверяются линейкой или шаблоном (рис. 47, в, г).

Рис. 45. Подготовка металла под сварку с отбортовкой кромок

Рис. 46. Подготовка метала под сварку с разделкой кромок

Рис. 47. Опиливание напильником кромок при подготовке деталей под сварку: 1, 2 – линейки; 3 – шаблоны
Очистка кромок деталей перед сваркой показана на рис. 48. Очистка от ржавчины, масла, краски и других загрязнений производится металлической щеткой по ширине кромки (15—20 мм). Деталь размещают в тисках или на верстаке и зачищают кромки до металлического блеска (рис. 48, а, б, в). Очистку кромок пламенем горелки производят для удаления окалины (рис. 48, г), а оставшиеся загрязнения удаляют металлической щеткой.
Разделка участков сварных швов с дефектами под последующую заварку показана на рис. 49, 50, 51 9 и 52. Размечается участок вокруг трещины для вырубки канавки (рис. 49, а).
Просверливаются отверстия по концам трещины на глубину залегания трещины (рис. 49, б). Вырубается канавка крейц-мейселем-канавочником (рис. 50, а, б). Форма канавки и исходные очертания трещины показаны на рис. 49, в и 50, в. Сваренную деталь размещают на столе сварщика (рис. 51, а, б). Крейцмейселем снимают наплыв металла шва таким образом, чтобы проверить наличие непровара кромки детали под дефектом (рис. 52, а, б).

Рис. 48. Очистка кромок деталей перед сваркой

Рис. 49. Разметка участка вокруг трещины и просверливание отверстий по концам трещины

Рис. 50. Вырубка канавки крейцмейселем-канавочником

Рис. 51. Размещение детали на столе сварщика для удаления наплыва металла шва

Рис. 52. Удаление наплыва металла крейц-мейселем
2. Сборка изделий под сваркуДля изготовления сварных конструкций требуется правильная сборка деталей свариваемого изделия, т. е. их правильная взаимная установка и закрепление. Сборка может осуществляться прихватками или в специальных сборочно-сварочных приспособлениях. Прихватки представляют собой короткие швы. Количество прихваток и их размер определяются технологическими условиями.
Процесс сборки сварного изделия состоит из последовательных операций. Прежде всего, необходимо подать детали к месту сборки. Затем необходимо установить эти детали в сборочном приспособлении в определенном положении.

Рис. 53. Базирование призматической детали по плоскости:
1, 2, 3 – точки опоры детали на установочные плоскости (поверхностиприспособления); 4, 5 – точки опоры детали на направляющей плоскости; 6 – точка опоры детали на опорной плоскости

Рис. 54. Базирование цилиндрической детали по призме: 1, 2, 3, 4 – точки опоры на плоскости призмы; 5 – точка фиксирования детали
В этом положении детали должны быть закреплены, после чего их сваривают.
Размещение свариваемых деталей в приспособлении осуществляется по правилам базирования. Базирование – это размещение детали в приспособлении таким образом, чтобы поверхности детали (технологические базы) опирались на установочные поверхности приспособления.
Рассмотрим основные схемы базирования деталей наиболее распространенной формы.
Призматическая деталь должна базироваться на три базы в трехмерной системе координат. На установочной плоскости деталь фиксируется в трех точках (рис. 53). На направляющей плоскости деталь фиксируется по двум точкам. На опорной плоскости деталь фиксируется в одной точке. Таким образом, если зафиксировать деталь во всех шести точках, то она будет находиться в строго определенном положении.
Цилиндрические детали обычно базируют по призме. Деталь лишена возможности перемещаться во всех направлениях за исключением вращения вокруг продольной оси. Если зафиксировать цилиндрическую деталь от возможности вращения вокруг продольной оси, то она будет находиться также в строго определенном положении (рис. 54).
Детали с цилиндрическими отверстиями базируются, как правило, по пальцам – фиксаторам приспособления, которые входят в это отверстие. Первой базой определяется установочная плоскость основания детали. Второй базой обычно является плоскость детали, перпендикулярная оси отверстия. Примеры базирования деталей с цилиндрическими отверстиями приведены на рис. 55, 56, 57.

Рис. 55. Базирование по двум пальцам. В вынесенных прямоугольниках указано число опорных точек на соответствующей поверхности

Рис. 56. Базирование по плоскости и цилиндрическому пальцу

Рис. 57. Примеры базирования деталей без приспособлений: а: 1 – палец; 2 – плоская деталь; б: 1 – палец; 2 – труба
Установочные элементы – упоры – применяются для обеспечения точности установки деталей сварного узла в сборочных приспособлениях. Конструкция упоров должна обеспечить возможность удобной установки деталей в приспособление и не мешать съему изделия после сварки. Место установки упоров должно быть определено так, чтобы обеспечить доступность сварки. Прочность и жесткость упоров должны предотвращать деформацию изделий в процессе сварки.
Зажимные элементы, к которым относятся прижимы и зажимы, предназначены для закрепления деталей свариваемого изделия в процессе сборки и сварки.
Прижимы и зажимы обеспечивают правильное положение и направление прижимного усилия для закрепления деталей без сдвигов относительно установочных баз.
В процессе сборки и сварки прижимы и зажимы обеспечивают надежность закрепления деталей. Конструкции прижимов и зажимов должны обеспечивать быстродействие и безопасность в работе. Некоторые виды конструкций прижимов приведены на рис. 58, 59, 60.
Переносные сборочные приспособления применяют при сборке сварных узлов в том случае, когда невозможно применить для этих целей типовые приспособления.
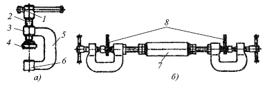
К переносным приспособлениям относятся всевозможные струбцины, стяжки, специальные фиксаторы, распорки, домкраты и др. Наиболее часто применяются струбцины, конструкции которых приведены на рис. 61.
Струбцины служат для прижима двух и более деталей друг к другу или для установки и закрепления деталей в определенном положении, поэтому струбцины подразделяются на прижимные (рис. 61, а) и установочные (рис. 61, б).
Установочная струбцина состоит из двух винтовых струбцин и гайки с правой резьбой, которая называется талреп. Детали, закрепленные в струбцинах, устанавливают на заданном расстоянии. В опытном или мелкосерийном производстве для изготовления сварных узлов или конструкций применяют сборно-разборные приспособления. Такие приспособления собирают из типовых блоков-плит, которые имеют пазы для установки прижимных устройств. Блоки-плиты собираются в комплект по размерам сварного изделия. Для сварки мелких деталей и узлов применяют сварочные столы с аналогичными пазами для закрепления деталей перед сваркой. При установке свариваемых узлов в удобное для сварки положение вместо сварочных столов применяют манипуляторы.
Манипуляторы позволяют вращать собранный под сварку узел с заданной скоростью при сварке деталей цилиндрической формы, а также изменять угол наклона оси вращения (рис. 62).

Рис. 58. Прижим клиновый

Рис. 59. Прижим эксцентриковый: Р – усилие, передаваемое рукой, составляет 10—15 кГс (100—150 Н); Q – усилие прижимное, составляет 10 Р (1,5 кН); F – сила трения; рабочая поверхность эксцентрика от точки 1 до точки 2 в его нижней части

Рис. 60. Прижим пружинный:
1 – головка прижима;
2 – втулка направляющая;
3 – пружина

Рис. 61. Струбцина прижимная (а) и установочная (б): 1 – рукоятка; 2 – винт; 3 – гайка; 4 – пята; 5 – корпус; 6 – упор; 7 – талреп; 8 – детали, зафиксированные в заданном положении

Рис. 62. Манипулятор: а – положение планшайбы (верхней части) манипулятора для сварки узла в горизонтальном положении; б – положение планшайбы манипулятора для сварки «в лодочку»
Для сварки крупногабаритных листовых конструкций применяются различные кондукторы, стенды, кантователи, установки и др. Эти приспособления обеспечивают фиксирование деталей в положении, удобном для выполнения сварки. Некоторые виды кантователей и установок приведены на рис. 63.
Контроль собранных под сварку изделий осуществляется в основном по сопрягаемым и габаритным размерам. Проверку размеров осуществляют металлическими рулетками, линейками или шаблонами.

Рис. 63. Кантователь поворотный двухстоечный: 1 – передняя приводная стойка; 2 – поворотная рама; 3 – задняя неприводная стойка; h – изменяемая высота для установки свариваемой конструкции в заданном положении
Контроль изделий после сварки осуществляют по техническим условиям на свариваемое изделие, в котором указаны требования к качеству сварных швов и их размерам.