Автор книги: Павел Кравченко
Жанр: Политика и политология, Наука и Образование
Возрастные ограничения: 18+
сообщить о неприемлемом содержимом
Таблица 3
Макроэкономические показатели России

С уважением,
к. э. н. П. П. Кравченко

Президенту Российской Федерации
В. В. Путину
Уважаемый Владимир Владимирович!
Обращаюсь к Вам по вопросу, связанному с экономической безопасностью России. Речь идет о существующей финансовой модели привлечения внешних инвестиций в российскую экономику, при которой валютные риски инвестора перенесены на российского заемщика. Имеются в виду в основном портфельные и прочие инвестиции, которые в период, когда платежный баланс страны имеет положительное сальдо счета текущих операций, являются в большей степени «лишними», и их стимулирование закладывает существенные риски для развития экономики, имеющей явную сырьевую направленность.
Механизм привлечения внешних инвестиций является ключевым и фундаментальным (для стабильного и устойчивого развития страны в долгосрочном плане), поэтому, на мой взгляд, требуется существенная корректировка его функционирования. Считаю целесообразным рассмотреть вопрос о проведении всестороннего анализа не только профильными ведомствами, но и контролирующими органами власти, ответственными за безопасность государства, включая ФСБ, Счетную палату, Прокуратуру и Следственный комитет РФ, на предмет целесообразности использования в настоящий момент именно существующего механизма привлечения внешних инвестиций в отечественную экономику. Во время проведения проверки необходимо обратить особое внимание на создание в отечественной экономике механизма денежной эмиссии, который в течение длительного времени был максимально связан с валютными поступлениями в страну. Было бы не лишним проанализировать целесообразность создания условий, при которых пополнение оборотного капитала отечественных компаний происходило (и происходит в настоящий момент) в большей степени за счет привлечения внешних инвестиций.
Убежден, что без принятия неординарных решений со стороны российского правительства невозможно справиться с одной из системных проблем отечественной экономики – зависимостью от внешнего капитала, на приток которого в свою очередь оказывают доминирующее влияние цены на основные позиции российского экспорта товаров (нефть, нефтепродукты и газ), складывающиеся на мировых биржах. Можно констатировать, что в последние десятилетия именно непрогнозируемый рост цен на вышеперечисленные позиции способствовал созданию негативных изменений в экономике, приведших к распаду СССР, финансовому кризису 1998 года и существенным экономическим проблемам конца 2008 года. Между тем наиболее непредсказуемые последствия для всей финансовой системы страны придутся на период 2013–2015 годов, так как накопленный внешний долг (624 млрд долл. на 01.01.13) и существенный объём импорта (не менее 330 млрд долл. по итогам 2012 года) соседствуют с отсутствием прогнозируемых валютных доходов экономики. Можно заключить, что если в ближайшее время не будут приняты экстренные меры в области сбалансирования притока и оттока валютных средств, это приведет к глубокому кризису на валютном рынке и, как следствие, к резкому ухудшению общей ситуации в стране, в том числе снижению уровня жизни российских граждан, глубина и последствия которого будут не сопоставимы с финансовыми потерями, с которыми столкнулась наша страна в 1998 году.
На мой взгляд, экономиста и ученого, специализирующегося на финансовых рынках, существующая «модель» не отвечает интересам российского государства, угрожает экономической безопасности страны и в большей степени отвечает интересам иностранных инвесторов. С возможным вариантом привлечения внешних инвестиций в российскую экономику можно ознакомиться в Приложении 1.
С уважением,
к. э. н. П. П. Кравченко

Приложение № 1
Предлагаемый механизм привлечения внешних инвестиций
Объективный анализ современной динамики мирохозяйственных связей указывает на возрастание угроз экономической безопасности России. Одной из таких угроз является усиление негативных тенденций в российской экономике, связанных в большей степени с ранее допущенными ошибками финансовых властей в области денежно-кредитной политики. В настоящем письме я хотел бы обратить внимание на возможность устранения системной ошибки отечественной экономики, которая, на мой взгляд, не позволяет в должной мере реализовать ни экономическую, ни социальную политику государства.
По моему мнению, одной из системных проблем отечественной экономики является существенная зависимость от внешнего инвестиционного капитала, который оказывается в значительной степени спекулятивным и состоит в основном из «портфельных» и «прочих» инвестиций. Общая сумма накопленного внешнего долга отечественной экономики составляет на 01.01.13 624 млрд долл., из которых 480 млрд долл. номинированы в СКВ. В свою очередь, в 2013–2014 годах необходимо выплатить внешним кредиторам до 150 млрд долл. Исходя из текущей экономической ситуации, динамики внешнеэкономических показателей и накопленных ЗВР (на 01.01.13 – 538 млрд долл.), можно сделать вывод, что в случае снижения валютной выручки экономики (по различным причинам) возврат ранее взятых кредитов будет затруднителен (в полной мере). В случае возможного ухудшения внешнеэкономической конъюнктуры и сохранения динамики оттока капитала на уровне 2012 года российская экономика столкнется с острой нехваткой валютных средств и, как следствие, объявлением рядом предприятий дефолта по внешним займам. Кроме этого, вероятность резкого ослабления национальной валюты существенно возрастет.
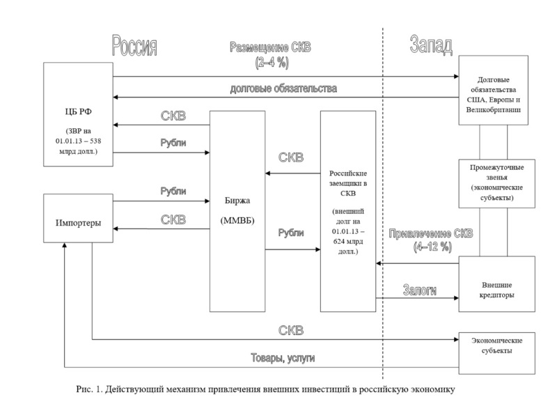
Данная ситуация в экономике сложилась вследствие допущенной системной ошибки, которая способствовала в полной мере созданию вышеуказанной ситуации (рисунок 1). Основной вывод: валютные риски по кредиту со всеми отрицательными последствиями полностью перенесены на заемщика. Что это значит? Главным образом – невозможность проведения ЦБ самостоятельной (независимой от внешних кредиторов) денежно-кредитной политики.
Например. Ситуация в российской экономике в период экономического кризиса 2008–2009 гг. Под влиянием внешних факторов резко ухудшился торговый баланс. Движение капитала недостаточно для поддержания на оптимальном уровне сальдо по притоку/оттоку валютных средств (по итогам 2008 года чистый отток капитала составил 130 млрд долл.). Наблюдалась тенденция к резкому сокращению ЗВР. Для нормализации валютных потоков прибегают, как правило, к девальвации национальной валюты. Что происходило в нашей стране. Снижение курса национальной валюты не дало должного эффекта в области исправления платежного баланса страны и ощутимого замещения импорта. Сокращение импорта происходило за счет снижения реальных доходов экономики (домохозяйств и предприятий). Корпоративный долг, номинированный в СКВ в размере 400 млрд долл., становится запредельной величиной – 14,4 трлн руб. (курс долл./руб. – 36), а его общая величина приближается к 17 трлн руб. (с учетом долга, номинированного в рублях). Таким образом, с прежних 12,5 трлн руб. (курс 25 руб./долл. плюс номинированная часть внешнего долга в национальной валюте в размере 2,5 трлн руб.) он возрастает на 4,5 трлн руб. Кроме этого, увеличивается и расходная часть финансовых средств, которая идет на выплату процентов и погашение основной суммы займа. К вышеупомянутым событиям (девальвации национальной валюты) добавляется еще одно отрицательное явление – рост уровня процентных ставок (как следствие политики дорогих денег, применяемой для снижения уровня инфляции и оттока капитала). При прочих равных условиях это влияло на сальдированный финансовый результат предприятий, величина которого в 2008 году резко снизилась. То есть он уменьшился, в том числе, на разницу в процентных ставках для всех заемщиков и на курсовую разницу в случае погашения долга. Итого в 2009 году только за счет двух факторов сальдированный финансовый результат организаций имел потенциал снижения на 1,8–2 трлн руб. (на 50 %). Следует заметить, что мы не учли расходы по другим кредитам, снижение общего уровня производства, падение капитализации компаний и т. д. Необходимо помнить, что экспортеры получают дополнительную прибыль в рублях, тогда как потери несут импортеры. Таким образом, вновь усиливается перекос в экономике в пользу сырьевой составляющей.
В качестве дополнительных отрицательных последствий можно упомянуть снижение уровня налогооблагаемой базы (сотни миллиардов рублей), сокращение инвестиционных расходов организаций и др. Примеров негативных последствий существующей валютной политики достаточно, чтобы говорить о том, что она порочна и деструктивна для развития всех сегментов российской экономики.
Очень важное явление наблюдается при дефиците притока валюты в страну, который в определенном случае (ситуация конца 2008 и середины 2009 года) наступает за счет снижения не только стоимости основных позиций российского экспорта, но и общей товарной массы. К проблемам дефицита валютных средств добавляется снижение уровня производства и, как следствие, снижение ВВП и рост социальной напряженности в обществе. Кроме того, за счет девальвации национальной валюты получаем увеличенный темп роста инфляции. Имеем классический вариант кризиса – стагфляцию. Таким образом, наблюдаем дефицит валюты, стагфляцию, падение ВВП, преддефолтное состояние экономики, рост уровня безработицы, падение реальных доходов населения и т. д. С одной стороны, необходимо снижать ставки и «накачивать» экономику ликвидностью, с другой стороны, решение проблемы стагфляции (падения производства с ростом инфляции) требует повышения уровня процентных ставок. Ситуация патовая. Вроде бы механизмы решения текущих проблем имеются, но их применение практически нейтрально. Что в итоге? Страна теряет равновесие. Это значит, что при желании (извне) можно полностью разрушить (существенно подорвать) российскую экономику. Механизм: снижение стоимости нефти, отказ от реструктуризации долгов и усиленный вывод валютных средств из страны.
Обобщая вышесказанное, можно сделать вывод, что существующая валютная политика (в совокупности с другими немаловажными факторами в области экономической политики государства) влечет за собой существенную угрозу безопасности страны. Легко показать, что если бы стоимость нефти в течение 2009–2011 годов оставалась бы на уровне 40–50 долларов, то российская экономика была бы полностью в руинах (курс доллара – не ниже 100 руб.; падение уровня жизни населения в два раза, снижение рынка недвижимости не менее чем в два раза и т. д.).
Я не рассмотрел ситуацию, при которой отсутствует фундаментальная база для создания рубля как региональной резервной валюты. Кроме того, не поднят вопрос об эффективном функционировании всего фондового рынка, который полностью зависит от притока внешнего спекулятивного капитала.
Для устранения негативных последствий в экономике, а также для создания условий, позволяющих более эффективно использовать весь спектр инструментов денежно-кредитной политики ЦБ, предлагается направить внешние инвестиции через определенный фильтр (ввести запретительную ставку резервирования внешних займов в иностранной валюте) (рисунок 2).
Отличительная особенность заключается в том, что валютные риски остаются на кредиторах. Данная конструкция позволяет поставить кредиторов в ситуацию, при которой изымать средства из российской экономики становится невыгодным именно в тот момент, когда в стране наблюдается острая нехватка СКВ. Созданный дополнительный спрос на валюту в период дефицита СКВ уменьшал бы прибыль (увеличивал убыток) внешних кредиторов. Если бы это было так, то в ситуации 2008–2010 гг., вне зависимости от стоимости сырья на мировых рынках (в нашем случае не менее 40 долл./барр.) можно было смело «накачивать» экономику деньгами (рублями) и снижать процентные ставки до приемлемого уровня. При этом девальвация рубля не отразилась бы на устойчивости (финансовой) российских заемщиков (в том числе и физических лиц). Некоторые достоинства предложенного механизма рассмотрим ниже.
Предположим, что основная часть выданных кредитов – это не ранее выведенные из отечественной экономики средства (хоть это и маловероятно), а реальные ресурсы западных компаний. В случае их отказа от займов весь спрос на кредиты пришелся бы на отечественную банковскую систему, в том числе и на «деньги с рынка» (размещение облигационных займов). Возникает правомерный вопрос, за счет каких средств будут кредитовать российские банки? Ответ простой: в основном за счет денежной эмиссии, которая происходит в случае с покупкой долларов у заемщиков (текущая ситуация, основным покупателем валюты является ЦБ). Позволяют ли параметры российской экономики «воспринимать» денежную эмиссию в таких размерах? Ответ на удивление прост. Да, позволяют. В очередной раз необходимо напомнить, что инфляция в экономике происходит не за счет денежной эмиссии, а за счет роста уровня издержек производства, существенный вклад в который вносят естественные монополии (инфляция издержек). Уровень монетизации отечественной экономики составлял в конце 2008 – начале 2009 г. не более 30 % ВВП (12 трлн руб. – денежная масса и 41,5 трлн руб. – ВВП), что как минимум в два-три раза ниже, чем в странах с развитой экономикой, и в пять-семь раз ниже, чем в Китае. Но если западные инвесторы отказываются от кредитования отечественной экономики, а экономика кредитуется в тех же размерах, то значительная часть прибыли (то есть разницы между ставкой привлечения средств и размещения) аккумулировалась бы в российской банковской системе. Что в свою очередь привело бы к значительному увеличению капитализации всей банковской системы. Финансовый эффект посчитать несложно, достаточно знать два мультипликатора: Р/Е и Р/ВV. В первом случае каждый рубль чистой прибыли дает как минимум 10 рублей роста стоимости капитализации. В качестве источника средств российской банковской системы могли послужить субординированные кредиты ЦБ. Воплощение в жизнь нижеприведенной схемы движения иностранного капитала позволит существенно продвинуться к реализации идеи об использовании рубля в качестве региональной резервной валюты, существенно увеличить спрос на российские рубли по всем направлениям финансовой сферы.
Доводов в пользу осуществления именно предлагаемой схемы привлечения внешних инвестиций в российскую экономику достаточно, но по определенным причинам схема эта не используется. Почему? Ответа на этот вопрос я не знаю. Возможно, кто-то не хочет терять столь высокую доходность в СКВ, которая в период активного платежного баланса генерируется отечественными предприятиями. Например, по итогам 2012 года «инвестиционные доходы из страны» составили не менее 95 млрд долл.
Иллюстрации

Рисунок 1. Существующий механизм привлечения внешних инвестиций в российскую экономику.

Рисунок 2. Предлагаемый механизм привлечения внешних инвестиций в российскую экономику.
Президенту Российской Федерации
В. В. Путину
Уважаемый Владимир Владимирович!
Я вынужден обратиться к Вам по вопросу, связанному с экономической безопасностью России. Речь идет о негативных тенденциях, сформировавшихся в российской экономике в части общей структуры платежного баланса Российской Федерации.
Прогноз, сделанный на основании ряда макроэкономических показателей (динамика курса рубля к доллару; золотовалютных резервов, накопленного внешнего долга, импорта товаров и услуг и т. д.), указывает на необратимость негативных процессов по основополагающим финансовым показателям. Сохранение сформированной тенденции по динамике показателей внешнеэкономической деятельности приведет к глубокому финансовому кризису на валютном рынке и, как следствие, к резкому ухудшению общей ситуации в стране, что вызовет снижение благосостояния российских граждан. Глубина и последствия экономического кризиса будут несоизмеримы с финансовыми проблемами, с которыми столкнулась наша страна в 1998 году.
Если директивно не воздействовать на динамику ряда экономических показателей, то уже к 2010 году (и это в лучшем случае!) отток валютных средств из страны будет превышать общие поступления валюты в российскую экономику.
Данная тенденция приведет к долгосрочному снижению курса рубля относительно доллара и будет сопровождаться уменьшением золотовалютных резервов Центрального Банка. Если не проводить глубокую девальвацию рубля (до 50 %), то валютных накоплений в стране хватит не более чем на три-четыре года.
Речь идет о следующих показателях.
1. Накопленный внешний долг. По итогам 2007 года его общая сумма будет составлять не менее 430 млрд долл. С учетом тенденции данный показатель к концу 2008 года превысит 500 млрд долл.
Минимальные ежегодные процентные выплаты по внешнему долгу составят 30 млрд долл. и выше. Если учитывать наметившуюся тенденцию к росту процентных ставок в мире, то общая величина выплат существенно возрастет. Не так давно (2002 г.) экономическое сообщество с тревогой обсуждало проблему выплаты в 2003 году части внешнего долга на уровне 15 млрд долл. Прошу заметить, что 30 млрд долл. – это сумма, необходимая только на обслуживание долга, без учета возможного оттока капитала.
2. Темп роста импорта товаров и услуг. Этот показатель за счет тактической ошибки, допущенной Центральным банком России в области кредитно-денежной политики (динамики курса рубля к доллару), вышел на уровень роста, не отвечающий общему экономическому развитию национальной экономики, и способствует ускоренному ухудшению счета текущих операций.
3. Баланс инвестиционных доходов. Данный показатель за 2007 год составляет 30 млрд долл. Общий рост инвестиционных доходов из России увеличился с минус 12,5 млрд долл. в год (1997 г.) до минус 65 млрд долл. (оценка 2007 г.).
Кроме того, существует ряд других макроэкономических показателей, которые также подтверждают наличие экономических проблем, требующих немедленного решения.
Прошу Вас, Владимир Владимирович, дать поручения соответствующим органам более детально изучить данный вопрос и сформировать комплекс мер, позволяющих снизить негативные последствия сложившейся ситуации.
Р. S. При изучении данного вопроса у меня сформировалось мнение относительно целенаправленности действий неких структур и частных лиц. Складывается впечатление преднамеренного создания условий и механизмов, способствующих долгосрочному массовому выводу валютных средств из страны и, как следствие, ведущих к частичной потере экономической и политической независимости России.
С уважением,
к. э. н. П. П. Кравченко

Президенту Российской Федерации
Д. А. Медведеву
Уважаемый Дмитрий Анатольевич!
Объективный анализ современной динамики мирохозяйственных связей указывает на возрастание угроз экономической безопасности России. Одной из таких угроз является усиление негативных тенденций в российской экономике, связанных с ухудшением общей структуры платежного баланса Российской Федерации. В настоящем письме хотел бы обратить внимание именно на эту угрозу, которая, несмотря на свою внешнюю безобидность, на самом деле является ключевой, а поэтому, на мой взгляд, требует принятия экстренных мер по ее устранению.
Убежден, что без неординарных решений со стороны российского правительства невозможно справиться с одной из системных проблем отечественной экономики – зависимостью от внешнего капитала, приток которого полностью зависит от цены на мировых биржах на основные позиции российского экспорта товаров (нефть, нефтепродукты и газ). Можно констатировать, что в последние десятилетия именно непрогнозируемый рост цен на вышеперечисленные позиции способствовал созданию негативных последствий в экономике, приведших к распаду СССР, финансовому кризису 1998 года и существенным экономическим проблемам конца 2008 года. Между тем наиболее непредсказуемые последствия для всей финансовой системы страны приходятся на период 2009–2011 годов, так как накопленный внешний долг (540 млрд долл. на 1.10.08) и существенный объём импорта (до 290 млрд долл. по результатам 2008 года) соседствуют с отсутствием прогнозируемых валютных доходов экономики. Можно констатировать, что непринятие в ближайшее время экстренных мер в области сбалансирования притока и оттока валютных средств приведет к глубокому кризису на валютном рынке и, как следствие, резкому ухудшению общей ситуации в стране, в том числе снижению общего уровня жизни российских граждан, глубина и последствия которого будут несопоставимы с финансовыми потерями, с которыми столкнулась наша страна в 1998 году. Установлено, что если целенаправленно не воздействовать на скрытое накопление внешнего долга, непропорциональный импорт товаров и услуг, массированную утечку капитала и т. д., то в уже в 2010 году отток валютных средств из страны будет превышать общие поступления валюты в российскую экономику (с учетом ежегодной реализации ЗВР в размере 50 млрд долл.). Данная тенденция приведет к хроническому завышению обменного курса рубля относительно доллара с одновременным уменьшением золотовалютных резервов Центрального банка. Можно однозначно утверждать, что если не проводить глубокую девальвацию рубля (стратегически неверное, но в то же время одно из немногих решений, позволяющих сохранить в достаточном объеме ранее накопленные ЗВР), то валютных накоплений в стране хватит не более чем на три-четыре года. Чтобы исправить нынешнее неудовлетворительное положение к лучшему, в незамедлительном порядке следует скорректировать следующие три ключевых показателя, определяющие главные направления будущего развития страны.
1. Накопленный внешний долг. По итогам третьего квартала 2008 года его общая сумма составила 540 млрд долл. США. Только ежегодное обслуживание данной суммы долга (в виде процентных выплат) превысит 40 млрд долл. США. Если учитывать среднесрочное развитие мировой экономики, возможный всплеск уровня инфляции и, как результат, повышение процентных ставок в мире, то общая величина выплат в течение нескольких ближайших лет существенно возрастет. Следует заметить, что в связи с понижением суверенного рейтинга Российской Федерации уровень реальных процентных ставок для экономических субъектов страны уже существенно возрос и составляет не менее 10 % в СКВ. Также следует иметь в виду, что для большинства отечественных компаний рынок внешних займов закрыт полностью. Между тем внешний долг России во времена дефолта был в четыре раза, а к началу 2001 года в три раза меньше (161,3 млрд долл. США).
2. Темп роста импорта товаров и услуг. Данный показатель из-за допущенной тактической ошибки Центрального банка России в области кредитно-денежной политики (поддержания завышенного обменного курса рубля к доллару), а также не до конца продуманной экономической политики российского правительства вышел на темп роста, не отвечающий общему экономическому развитию национальной экономики, что порождает ускоренное ухудшение счета текущих операций. По нашим оценкам, фактический пятикратный рост этого показателя в 2007 году по сравнению с 2000 годом (223,1 против 44,9 млрд долл. США, не менее 290 млрд долл. по итогам 2008 года) по крайней мере в два раза превышал норму допустимого, что означало избыточный вывоз текущих денег за границу, составивший за последние семь лет более 400 млрд долл. США. Заметим, что в указанных угрожающих объемах превышения не исключены значительные суммы скрытого вывоза капитала, эмитированные под флагом текущих операций.
3. Баланс инвестиционных доходов. Данный показатель в 2007 году составил минус 22,5 млрд долл. Общий рост инвестиционных доходов из России увеличился с минус 12,5 млрд долл. в год (1997 год) до минус 64,7 млрд долл. США.
По итогам 2008 года инвестиционные доходы из России будут составлять не менее минус 85 млрд долл. США, а общий баланс между притоком и оттоком инвестиционных доходов выйдет на уровень не менее минус 33 млрд долл. Все три вышеперечисленных показателя являются ключевыми ярко выраженными факторами, негативно влияющими на современное состояние и перспективы развития отечественной экономики. Необходимо раз и навсегда устранить зависимость благоприятного развития российской экономики от факторов, на которые влияние государства ограничено. Кроме того, надо учитывать, что в условиях возросшего в последнее время политического обострения отношений России и Запада, которое уже в ближайшее время с большой вероятностью перейдет в экономическое, уязвимость этих показателей (и далее финансового положения страны в целом) возрастет. Так, в случае сохранения в течение двух лет среднегодовой стоимости нефти на уровне 25–35 долл. вынужденная девальвация рубля (не менее 70–120 руб./долл.) отбросит экономическое развитие России на многие годы назад. Очередной раз будет наблюдаться резкое обнищание народа, уровень инфляции превысит 40 % в год и под воздействием невозможности в краткосрочном плане обслуживать внешний долг произойдет частичная потеря российского суверенитета. В связи с этим станет актуальным вопрос о распаде Российской Федерации. В результате надвигающихся финансовых угроз Россия, по моему субъективному мнению, уже в ближайшее время столкнется с той же проблемой, что СССР в конце 80-х годов, в том числе и прежде всего с острой нехваткой валютных средств. Но если в тот период общая сумма внешнего долга России не превышала 120 млрд долл., то уже сегодня она зашкаливает за 540 млрд долл. США. Чем это закончилось тогда, широко известно, чем оно угрожает нам сегодня – неясно. Основное отличие нынешней ситуации заключается в том, что российская экономика столкнулась бы с нехваткой валютных средств вне зависимости от снижения стоимости энергоносителей в 2008 году. Это отличие является характерным отягчающим обстоятельством современного финансового развития страны, продолжительное игнорирование которого вполне может привести к его необратимому ухудшению.
Вопрос, в течение какого времени и в каких масштабах это будет происходить, требует ускоренной разработки возможных сценариев развития ключевых событий, показательные фрагменты которых приводятся в приложении 1.
Исходя из изложенного, в порядке принятия срочных мер считаю необходимым, уважаемый Дмитрий Анатольевич, просить Вас дать поручения срочно проработать предложения, которые приводятся ниже. Данные предложения могут войти в ряд более крупных стратегических решений, позволяющих снизить в среднесрочном плане валютные риски не только отдельных акционерных компаний, но и всей российской экономики в целом. Полагаю, что принятие срочных мер, направленных на долгосрочное развитие отечественной экономики, позволит нашей стране более настойчиво отстаивать свои экономические и политические интересы. Кроме того, реализация данных предложений обеспечит компаниям, как это показано в приложении 2, снижение издержек по обслуживанию внешних займов в пределах 4–8 % годовых, что позволит сохранить прибыль от размещения финансовых средств в распоряжении российской экономики и будет способствовать дополнительному росту стоимости российских акций.
Необходимо помнить, что каждый полученный рубль чистой прибыли способен увеличить капитализацию отечественного фондового рынка в 10–20 раз. Вне зависимости от дальнейшего развития ситуации в экономике считаю целесообразным в срочном порядке создать при Президенте России национальный экономический совет, в который войдут не только лучшие ученые страны, но и специалисты, имеющие значительный практический опыт работы в различных сегментах экономики. Именно экономический совет должен разрабатывать стратегию развития государства в области экономической политики. Актуальность по созданию данного органа, генерирующего новые идеи для выхода России из кризиса, очевидна.
Приложения[12]12
С приложениями к данному письму можно ознакомиться на сайте www.Возрождение2014.рф в разделе «Экономика России».
[Закрыть]
1. Предложение о дальнейшем перекредитовании внешней задолженности коммерческих предприятий.
2. Снижение общего уровня инфляции и уровня процентных ставок.
3. Создание (восстановление) залоговой стоимости.
4. Утечка капитала.
5. Аналитические материалы.
С уважением,
главный редактор журнала «Портфельный инвестор»
к. э. н. П. П. Кравченко

Президенту Российской Федерации
Д. А. Медведеву
Уважаемый Дмитрий Анатольевич!
Объективный анализ современной динамики мирохозяйственных связей указывает на возрастание угроз экономической безопасности России. Одной из таких угроз является усиление негативных тенденций в российской экономике, связанных в большей степени с ранее допущенными ошибками финансовых властей в области денежно-кредитной политики. В настоящем письме хотел бы обратить внимание на возможность устранения «системной ошибки» отечественной экономики, которая, на мой взгляд, не позволяет в должной мере реализовывать ни экономическую, ни социальную политику государства. По моему мнению, одной из системообразующих проблем отечественной экономики является существенная зависимость от внешнего инвестиционного капитала, который в большей степени является спекулятивным и состоит в основном из «портфельных» и «прочих» инвестиций. Общая сумма накопленного внешнего долга отечественной экономики составляет на 01.10.08 540 млрд долл., из которых 440 млрд долл. номинированы в СКВ. В свою очередь, в 2009–2010 годах необходимо выплатить внешним кредиторам до 200 млрд долл. Исходя из текущей экономической ситуации, динамики внешнеэкономических показателей и накопленных ЗВР (на 1.03.09 – 384 млрд долл.), можно констатировать, что возврат ранее взятых кредитов практически невозможен (в полной мере). Таким образом, определенная часть отечественных предприятий находится в преддефолтном состоянии. В случае ухудшения внешнеэкономической конъюнктуры и сохранения динамики оттока капитала на уровне 2008 года российская экономика столкнется с острой нехваткой валютных средств и, как следствие, с объявлением рядом предприятий дефолта по внешним займам. Кроме этого, вероятность резкого ослабления национальной валюты резко возрастет.
Данная ситуация в экономике сложилась вследствие допущенной «системной ошибки» (рис. 1). Таким образом, валютные риски по кредиту со всеми отрицательными последствиями полностью перенесены на заемщика. Что это значит? Основное – невозможность проведения ЦБ самостоятельной (независимой от внешних кредиторов) денежно-кредитной политики. В российской экономике за счет внешних факторов резко ухудшился торговый баланс. Движение капитала недостаточно для поддержания на оптимальном уровне сальдо по притоку/оттоку валютных средств (наблюдается по итогам 2008 года чистый отток капитала в размере 130 млрд долл.). ЗВР ограничены. Для нормализации величины платежного баланса проводят девальвацию национальной валюты. Что происходит в нашей стране? Снижение курса национальной валюты не дает должного эффекта в области исправления платежного баланса страны и ощутимого замещения импорта. Оно лечит одно и калечит другое. В любом случае снижение импорта происходит за счет снижения реальных доходов экономики (домохозяйств и предприятий). Корпоративный долг, номинированный в СКВ, в размере 400 млрд долл. становится запредельной величиной – 14,4 трлн руб. (курс долл./руб. – 36), а его общая величина приближается к 17 трлн руб. (с учетом долга, номинированного в рублях). Таким образом, с прежних 12,5 трлн руб. (курс 25 руб./долл. плюс номинированная часть внешнего долга в национальной валюте в размере 2,5 трлн руб.) возрастает на 4,5 трлн руб. Кроме этого, увеличивается и расходная часть финансовых средств, которая идет на выплату процентов и погашение основной суммы займа. К вышеупомянутым действиям (девальвация национальной валюты) добавляется еще один негатив – повышение уровня процентных ставок (политика дорогих денег, применяемая для снижения уровня инфляции и оттока капитала). При прочих равных условиях это влияет на сальдированный финансовый результат предприятий, величина которого в 2008 году составляла 4 трлн руб., т. е. он уменьшается на разницу в процентных ставках для всех заемщиков и на курсовую разницу в случае погашения долга. Итого в 2009 году только за счет двух факторов сальдированный финансовый результат организаций имеет потенциал снижения на 1,8–2 трлн руб. (на 50 %).