Текст книги "Современные работы по внутренней и внешней отделке дома"
Автор книги: Валентина Назарова
Жанр: Хобби и Ремесла, Дом и Семья
Возрастные ограничения: +12
сообщить о неприемлемом содержимом
Текущая страница: 2 (всего у книги 14 страниц) [доступный отрывок для чтения: 4 страниц]
Технология работ по внутренней и внешней отделке
Штукатурные работы
Отделочные работы в здании начинают со штукатурных работ. При этом должны быть полностью закончены работы, связанные с кирпичной кладкой и устройством перегородок, монтажом трубопроводов, электропроводки и другие строительно-монтажные работы.
Штукатуркой называется отделочный слой на поверхностях различных конструкций и элементов зданий и сооружений – стен, перекрытий, колонн, перегородок и др., – выравнивающий эти поверхности или придающий им определенную фактуру и форму.
Виды штукатурных работ
Штукатурка предохраняет здание от разрушения атмосферными водами и служит дополнительной защитой от возгорания. Оштукатуренные помещения более теплые и гигиеничные.
В соответствии с этим штукатурка разделяется на декоративную, гидроизоляционную, теплозащитную, акустическую и др.
В зависимости от способа покрытия поверхности применяются два вида штукатурки: мокрая и сухая.
Мокрая штукатурка известковым, цементным или сложным раствором применяется при отделке кирпичных, каменных, бетонных или деревянных стен, как внутри, так и снаружи зданий.
По внутренним поверхностям стен устраивается также сухая штукатурка, листы которой приклеиваются специальными мастиками.
В зависимости от требований к качеству отделки штукатурка бывает трех видов: простая, улучшенная и высококачественная. Каждый вид имеет определенную область применения. Простая штукатурка применяется на чердаках, в подвалах, складах и других нежилых помещениях. Улучшенную штукатурку обычно выполняют в жилых и общественных зданиях и при оштукатуривании фасадов зданий без специального архитектурного оформления. Высококачественная штукатурка применяется при повышенных требованиях к отделке поверхностей: в театрах, выставочных залах, гостиницах, музеях, жилых домах высшей категории и т. д.
Подготовка поверхностей к оштукатуриванию
Все конструкции, подлежащие оштукатуриванию, до начала работ необходимо выверить, так как наличие впадин и выступов, бугров и наплывов, отклонений поверхностей от вертикали или горизонтали ведет к увеличению затрат труда и материалов, ухудшению качества штукатурных работ. В подготовку к оштукатуриванию кирпичных, каменных, бетонных и других поверхностей входит очистка от пыли, грязи, жировых и битумных пятен и создание на гладких поверхностях нужной шероховатости, способствующей лучшему сцеплению штукатурного намета с основанием и длительности срока службы штукатурки. На 1 м2 поверхности стены должно быть не менее 200 насечек.
Если швы были расшиты, т. е. заполнены раствором, их надо вырубить на глубину не менее 1 см, а после этого прочистить стальной щеткой.
На заметку
Новые бетонные поверхности, имеющие достаточную шероховатость, обметают от пыли и промывают водой. Если на них нет достаточной шероховатости (бетон был выполнен в металлической опалубке), то их обязательно насекают, а загрязненные места очищают стальными щетками или срубают.
Каменные или бетонные поверхности, простоявшие неоштукатуренными более года и сильно загрязненные пылью и копотью, обязательно требуют насечки, очистки и промывки.
Совет
Если в кирпичной кладке или бетоне окажутся слабые, легко отбиваемые при насечке или отслаивающиеся при очистке щетками места, их обязательно вырубают до прочного основания.
Деревянные поверхности подготавливают под оштукатуривание путем прибивания штукатурной драни. Первый слой драни, накладываемый непосредственно на основание, называется простильным рядом, верхний – выходным. Оба ряда драни взаимно перпендикулярны, а образуемые между ними ячейки должны иметь размер 45×45 мм. Перед набивкой дрань необходимо рассортировать: для простильного ряда толщина драни 3–4 мм, а для выходного – 4–5 мм. Ширина драни должна быть 15–20 мм. Дрань к стенам и потолкам крепится штукатурными гвоздями (через одно пересечение драниц – на потолках и через два пересечения драниц – на стенах).
Внимание
Прогрессивной формой работ является применение драночных щитов, позволяющих снизить затраты труда при подготовке к оштукатуриванию деревянных поверхностей. Драночные щиты, как и штучную дрань, прибивают к основанию так, чтобы направление досок в основании и направлении драни не совпадали. Приемы набивки драни показаны на рис. 1.
В случае необходимости оштукатуривания по сетчато-армированному каркасу на основании крепится металлическая сетка с размером ячеек 10×10 мм или применяется специальное проволочное плетение с ячейками не более 40×40 мм. Для предотвращения коррозии металла сетку покрывают цементным молоком, битумным черным лаком или масляной краской.
По набитой драни или по насечке можно наносить штукатурку толщиной не более 30 мм на потолках и не более 40 мм на стенах. Если штукатурка будет более толстой, следует создать дополнительную шероховатость, набивая гвозди и оплетая их проволокой. Гвозди набивают в квадратном или шахматном порядке через 100 мм один от другого в нужных местах по всей подготавливаемой поверхности. Гвозди забивают с таким расчетом, чтобы шляпки были ниже уровня наносимой штукатурки на 20 мм. Это предупреждает «просвечивание» шляпок гвоздей из толщи штукатурки и предохраняет от образования на ней ржавых пятен. Набитые гвозди оплетают проволокой, туго натягивая ее и обвивая вокруг гвоздя у самой шляпки в один-два оборота. Для удобства проволоку наматывают в виде клубка. Держат его левой рукой, а правой выполняют оплетение. Оплетение проволокой набитых гвоздей производят только после провешивания поверхностей и устройства маяков, т. е. после определения толщины штукатурки.


Рис. 1. Набивка драни на деревянную поверхность:
1 – техника набивки; 2 – набитая дрань
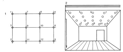
Следующей операцией по подготовке к оштукатуриванию является провешивание поверхностей с целью проверки вертикальности стен, подлежащих оштукатуриванию. Проверка горизонтальности потолков производится правилом с уровнем. В результате проверки на поверхностях стен и потолков устанавливаются разных видов марки и маяки, которые определяют будущую плоскость оштукатуренной поверхности.
Вертикальные поверхности провешивают с помощью отвеса. Горизонтальные поверхности провешивают уровнем с рейкой-правилом или ватерпасом. Там, где это возможно, при провешивании поверхностей (в основном деревянных) можно применить гвозди и рейки. Гвозди, рейки или марки забивают или устанавливают так, чтобы расстояния между ними были 100–300 см. От потолка, пола, углов помещения их устанавливают на расстоянии 30–40 см. Последовательность провешивания стен и потолков показана на рис. 2. В случае отсутствия на стене особо выпуклого места, провешивание стены начинают с крайних угловых гвоздей 1 и 4. Эти гвозди забивают настолько, чтобы шляпки отстояли от поверхности стены на предполагаемую толщину штукатурного слоя. Гвозди 2 и 5 по отвесу забивают до совмещения их шляпок с плоскостью шляпок гвоздей 1 и 4. Промежуточные гвозди 3 и 6 забивают по туго натянутому шнуру между гвоздями 1 и 2 и соответственно между гвоздями 4 и 5. Затем проверяют плоскость стены, натягивая шнур с гвоздя 1 на гвоздь 5 и с гвоздя 2 на 4 одновременно.
Совет
Если шнур где-либо касается стены, то это место выпуклости должно быть ликвидировано. Если удалить выпуклость невозможно, то вытаскивают один из вертикальных рядов гвоздей, ближайший к обнаруженной выпуклости, и снова забивают, но уже так, чтобы в выпуклых местах оставалось нормальная толщина штукатурного слоя.
Далее между гвоздями 1 и 4 с помощью натянутого шнура забивают гвозди 7 и 8, образующие верхний опорный ряд, затем между гвоздями 3 и 6 забивают гвозди 9 и 10 и в нижнем опорном ряду – гвозди 11 и 12. Таким образом, вся поверхность стены покрывается гвоздевыми марками, по которым можно вести оштукатуривание.
Потолки провешивают с помощью уровня с правилом, водяного гибкого уровня или ватерпаса. Сначала с помощью шнура определяют самое низкое место потолка – выпуклость, вбивают в нее гвоздь так, чтобы расстояние от шляпки гвоздя до поверхности потолка составляло толщину штукатурного слоя, а остальные гвозди устанавливают с помощью правила с уровнем, ватерпаса или водяного уровня, располагая их рядами по отбитой намеленным шнуром линии.
Внимание
При провешивании поверхностей, в которые невозможно вбить гвозди, вместо гвоздей применяются гипсовые марки, инструменты используются те же, последовательность провешивания и метод определения высоты марок аналогичны.

Рис. 2. Провешивание стен и потолков:
1 – последовательность провешивания стен; 2 – последовательность провешивания потолков
Материалы для штукатурных работ
В штукатурных работах используют различные растворы, представляющие собой смесь вяжущего вещества с заполнителем, затворенные водой. В качестве вяжущих веществ используются: известь, глина, гипс, цементы, жидкое стекло, а заполнителей: песок, гравий, каменная крошка, топливный шлак, опилки, керамзитовый песок и др. Облицовочными материалами служат гипсовые листы сухой штукатурки и древесно-волокнистые плиты. Вспомогательными материалами являются дрань, гвозди, металлическая сетка, рогожа, войлок и др. Выбор материала зависит от назначения штукатурки, вида основания, климатических условий местности и ряда других факторов.
Вяжущие материалы
К вяжущим материалам относятся: глина, известь, цемент, гипс и др.
Глина – это землистая масса, при смешивании с водой способная образовывать пластичное тесто. После высыхания глина сохраняет приданную ей форму без заметной усадки, а после обжига становится весьма прочной.
Жирной называется богатая глинистыми минералами глина, а тощей – глина, в составе которой имеется большое количество примесей, а именно песка. От того, какие примеси входят в состав глины, зависит ее цвет. В красный, желтый и бурый цвета окрашена глина с примесью окиси железа и марганца, в черный – окиси хрома.
Глину применяют в качестве вяжущего материала для оштукатуривания внутренних и наружных стен помещения, а также глиняные растворы незаменимы при кладке и оштукатуривании печей и каминов.
Известь строительная – наиболее распространенный вяжущий материал, обладающий хорошей пластичностью, но медленным схватыванием и отвердением только на воздухе. Известь бывает воздушная и гидравлическая.
Известь строительная воздушная (продукт обжига известняка) существует нескольких видов: негашеная – кипелка кусковая и кипелка молотая; гидратная – пушонка (продукт гашения небольшим количеством воды); известковое тесто (продукт гашения при избытке воды).
Известь строительная гидравлическая (продукт обжига известняка, содержащая до 20 % глинистых примесей) бывает негашеная кусковая и гашеная порошковая. Гидравлическая известь (по сравнению с воздушной) способствует образованию более тонкой склеивающей пленки и прочного красочного покрытия. Для гашения известь заливают водой из расчета на 1 часть извести – 3 части воды. Скорость гашения извести различна: для быстрогасящейся – 10 мин, среднегасящейся – от 10 до 30 мин, медленногасящейся – свыше 30 мин.
Начавшую гаситься известь размешивают, а после гашения процеживают через сито с ячейками 2×2 мм и оставляют для отстоя. Таким образом, получают известковое тесто, которое разбавляют водой, процеживают и отстаивают. Известковое тесто содержит примерно 50 % воды и 50 % гидрата окиси кальция. При добавлении небольшого количества поваренной соли прочность извести повышается. Известь в чистом виде применяется только как побелка (известковая краска) в малярных работах. Известковое тесто, высыхая, дает большую усадку, покрывается трещинами и не имеет нужной прочности.
Совет
Чтобы известковое тесто не трескалось, в него добавляют заполнители: песок, молотый шлак, пемзовую пыль и т. д. Все перемешивают и получают известковый раствор, твердеющий весьма медленно.
Известь в штукатурных растворах можно заменить отходами промышленности – подзолом, окшарой, карбидным илом или глиной.
Гипс строительный – белый или сероватый порошок – является продуктом термической обработки при 150–160 °C природного гипса с последующим его помолом.
Гипс широко применяется в штукатурных работах как добавка к известковому или глиняному раствору с целью ускорения их схватывания и повышения прочности. Это единственный вяжущий материал, который можно применять в чистом виде, т. к. при твердении он не уменьшается, а увеличивается в объеме до 1 %. Гипс изготовляется трех сортов. Затворенный водой гипс должен начинать схватываться не ранее 4 мин и за 30 мин полностью отвердеть. Замедлить схватывание гипса на 15–20 мин можно путем добавки 0,5–2,0 % костного или мездрового клея, 5–10 % буры или 5–20 % известкового теста. Гипс необходимо защищать от увлажнения и загрязнения.
Внимание
К заменителям гипса относятся: гажа – камневидная природная смесь гипса с глиной – и глинистый гипс – сыпучая или камневидная порода. Содержание гипса в этих заменителях колеблется от 40 до 70 %. После обжига их можно использовать для приготовления воздушного вяжущего материала.
Цемент – гидравлический вяжущий материал является самым прочным вяжущим. Его получают путем обжига измельченного клинкера и некоторых минеральных добавок при высоких (до 1500 °C) температурах. Для приготовления строительных растворов используют шлакопортландцементы, пуццолановые портландцементы, расширяющиеся и безусадочные цементы, глиноземистый цемент и т. п. Самыми распространенными считаются глиноземистый цемент и портландцемент.
Портландцемент и портландцемент с минеральными добавками имеют марки: «400» и «500», «550» и «600»; шлакопортландцемент – «300», «400» и «500»; быстротвердеющий портландцемент – «400» и «500» (цифры означают прочность на сжатие в кг/см2). Схватывание цемента должно наступить не ранее 45 мин, заканчивается оно не позднее 12 ч после затворения водой. Твердеет цемент длительное время, но величину прочности на сжатие измеряют после выдержки бетона в течение 28 суток. При пониженной температуре схватывание портландцемента замедляется. Портландцемент применяют для оштукатуривания помещений с повышенной влажностью. Белый портландцемент применяют для отделочных работ.
Цемент не следует длительно хранить, так как его качество снижается за 6 месяцев хранения на 25 %, за 1 год – на 40 %, за 2 года – на 50 %. При хранении его необходимо защищать от влаги и загрязнения.
Заполнители
Заполнители бывают:
• тяжелые холодные (объемный вес более 1000 кг/м3) – песок и др.;
• легкие теплые (объемный вес менее 1000 кг/м3) – пемза, шлак, асбест, древесный уголь и др.
Пески классифицируются по крупности зерен: крупнозернистые – от 2 до 5 мм, среднезернистые – от 0,5 до 2,0 мм и мелкозернистые – до 0,5 мм. Для штукатурных работ применяют мелко– и среднезернистый песок. Желательно, чтобы в нем было меньше примесей, т. к. от этого зависит качество раствора.
Совет
Добавки вводят в растворы с целью экономии цемента и других вяжущих материалов. Добавки придают растворам водоудерживающую способность, пластичность. Применение активных добавок значительно повышает прочность раствора.
Наибольшее распространение имеют следующие добавки:
• самостоятельно отвердевающие – гранулированные доменные основные шлаки светлых тонов и легкие (с объемным весом менее 800 кг/м3), золы сланцев;
• отвердевающие в смеси с известью или цементом – диатомовые земли (в виде порошка или теста), пемза (перемолотая в порошок), вулканический туф (пористые горные породы различной окраски в молотом виде), золы углей, гранулированные кислые доменные шлаки в молотом виде, асбестовая пыль.
При штукатурных работах используют следующие вспомогательные материалы:
• поваренную соль, кальций хлористый, калий сернокислый и др. Указанные вещества растворяют в воде, используемой для затворения раствора. Они оказывают различное действие на вяжущие материалы: поваренная соль – ускоряющее на гипс; кальций хлористый – ускоряющее на известь воздушную и портландцемент; калий сернокислый – замедляющее на известь воздушную и портландцемент и ускоряющее на гипс;
• флюаты (кремнефтористоводородные соли магния и алюминия) – для укрепления поверхностного слоя штукатурки;
• церезит (смесь кальциевых и алюминиевых солей олеиновой кислоты) – для повышения водонепроницаемости цементного раствора;
• клей (костный, мездровый) – для замедления схватывания гипсовых растворов; клей можно добавлять в раствор в количестве до 0,2 %.
Штукатурные растворы для внутренних и наружных работ
Штукатурный раствор – смесь вяжущего материала с мелким наполнителем и водой.
В зависимости от поверхности, подлежащей оштукатуриванию, подбирают соответствующие вяжущие материалы в соответствии с табл. 1.
Растворы бывают простые (вяжущий материал и наполнитель) и смешанные (сложные) – 2–3 вяжущих материала и наполнитель.
Известковый раствор. На 1 часть известкового теста берут от 1 до 5 частей песка, что зависит от жирности извести. Густое тесто не следует размешивать в чистом виде, в него надо добавить немного песка, облегчающего растирание извести, воды и перемешать, не допуская комков. Затем добавляют песок отдельными порциями, каждый раз перемешивая его до тех пор, пока раствор не приобретет нормальную жирность. Если известковый раствор будет применяться без добавления гипса, в него наливают столько воды, чтобы он был средней густоты. Известковый раствор мягок, пластичен, обладает хорошим сцеплением с оштукатуриваемой поверхностью, долговечностью (при отсутствии сырости), сравнительно медленным схватыванием. Применяют раствор для оштукатуривания почти всех видов поверхностей, заделки трещин и щелей.
Разновидностью известкового раствора является известково-гипсовый раствор – вода, гипс и известковый раствор (1 часть извести и 0,1–0,5 части гипса). Гипс ускоряет схватывание раствора и повышает его прочность.
Цементный раствор состоит из 1 части цемента и 2–5 частей песка (части объемные). Отмеренные части песка и цемента поочередно засыпают в ящик, тщательно перемешивают до получения однородной сухой смеси. Смесь затворяют водой до нужной густоты, тщательно перемешивают. Раствор годен для употребления в течение часа. В раствор можно вводить пластифицирующие добавки с целью ускорения сушки.
Сложный цементно-известковый раствор приготовляют из цемента, известкового теста и песка. Раствор пластичен, хорошо прилипает к поверхности и его легко наносить. Раствор готовят следующим образом. Цемент с песком смешивают, получая сухую смесь. Известковое тесто разводят водой до густоты сметаны и затворяют им цементную смесь, тщательно все перемешивая. Смешанный раствор пластичнее цементного, но менее прочен, особенно во влажной среде.
Таблица 1
Растворы для штукатурных работ

Примечание. Добавка гипса в объемных частях на одну объемную часть готового известково-песчаного раствора.
Сухие растворные смеси для выравнивания стен и потолков
В настоящее время при проведении штукатурных работ вместо традиционных материалов часто используют различные готовые сухие смеси.
На заметку
Выравнивающие составы для стен и потолков (штукатурные растворы) представляют собой улучшенные сухие смеси из минеральных компонентов и специальных добавок. Они предназначаются для выполнения традиционных штукатурных работ на различных основаниях, а также для выравнивания любых стен перед укладкой плитки, отделкой деревом и наклеиванием обоев.
Материалы данного вида подразделяются на составы с цементом и клеевым связующим. Растворы, содержащие цемент, могут использоваться в любых помещениях, в том числе кухнях, ванных комнатах, саунах, бассейнах, производственных помещениях и т. п., а клеевые составы предназначаются для работ в сухих помещениях: жилых комнатах, вестибюлях, офисах, магазинах и т. п.
Так смеси для выравнивания стен и потолков различаются по толщине наносимого слоя – от 10 до 30 мм. Если выравнивающий раствор наносится на голую кирпичную кладку, то рекомендуется проводить штукатурные работы в три слоя: первый слой – грубый, который делает предварительное выравнивание (материал «Ветонит ТТ» или «Нивоплан»), второй слой – промежуточный (гидроизоляционные материалы), третий слой – наносится толщиной от 1 до 2 мм и готовит стену для покраски, приклеивания обоев и других видов отделки.
Большой интерес представляют штукатурные смеси производства немецкого концерна «Knauf». Они изготавливаются на основе строительного гипса, поэтому универсальны в применении при внутренней отделке помещений.
Гипсовые штукатурные смеси пожаробезопасны, гигиеничны и безвредны для здоровья человека. В помещении, отделанном этими материалами, создается оптимальный микроклимат. Они поглощают влагу при ее избытке и отдают – при недостатке. При этом, обладая низкой теплопроводностью, гипсовые штукатурки препятствуют потере тепла.
На заметку
Существует множество видов декоративной штукатурки с различной фактурой: рифленой, шероховатой, рустика и т. п. Например, «Атлас Цермит СН» имеет фактуру «мелкий барашек» с толщиной крошки до 2–3 мм, содержание более крупной крошки дает, соответственно, более рельефную поверхность. Также для отделки помещений применяются декоративные акриловые штукатурки с различной фактурой («Цермит Н-200» и «Цермит Р-200»), созданные на основе водяной дисперсии искусственных смол. Декоративные растворы имеют широкую цветовую гамму.
В качестве примера может служить штукатурка «Ротбанд» со специальными добавками для выравнивания бетонных потолков, которая обеспечивает хорошую адгезию. В результате ее применения образуются гладкие и ровные поверхности. Эта смесь пригодна и для штукатурки бетонных стен. Но специально для оштукатуривания стен выпускается сухая смесь «Гольдбанд-ной», которая легко наносится и отличается медленным схватыванием. Она применяется для оштукатуривания вручную внутренних поверхностей, включая грубые поверхности, например: кладку из кирпича или другого камня. Эта смесь дает возможность без спешки довести поверхность стены до гладкого состояния.
Выравнивающие растворы для стен и штукатурные смеси применяются для отделки жилых помещений, офисов, магазинов, подсобных помещений, вокзалов, промышленных зданий, спортивных сооружений и пр. Некоторые марки растворов служат для выравнивания поверхностей стен, а также оштукатуривания тонким слоем всех обычных поверхностей: бетонных, цементно-известковых, цементно-песчаных, пенобетонных, гипсокартонных и других. К таким универсальным составам относится «Нивоплан» фирмы «Mapel».
Технология применения выравнивающих растворов для стен и потолков знакома любому штукатуру и не представляет особой сложности.
Сухую смесь заливают водой комнатной температуры или теплой, затем тщательно перемешивают при помощи механической мешалки, миксером или вручную. Необходимо точное соблюдение пропорций сухих смесей и воды, так как разжиженный или слишком густой раствор не даст должного эффекта (пропорции указаны на упаковке).
Полученный раствор набрасывается на стену равномерно кельмой, а избыток собирается теркой из пенополистирола или дерева, в случае толстого слоя для обеспечения хорошего связывания с основанием раствор разравнивается рейкой под сильным давлением. При использовании декоративных штукатурных растворов масса наносится на основу с помощью гладкой металлической терки, разравнивается до толщины крошки, а затем поверхность легко затирается гладкой теркой из искусственных материалов до требуемой фактуры.
Совет
Затирать штукатурку можно по вертикали и горизонтали, круговыми и крестообразными движениями – все зависит от желаемой фактуры, толщины слоя и марки раствора.
Стоит обратить внимание на тот факт, что цветные штукатурные составы лучше наносить методом «мокрое на мокрое», нельзя допускать засыхания затертой части до нанесения следующей, иначе место соединения будет выделяться. Время твердения штукатурки и выравнивающих растворов зависит от основания, температуры воздуха, относительной влажности и колеблется от 4 до 48 часов.
На заметку
Почти все растворы для обработки стен и потолков являются морозостойкими, водостойкими, не воспламеняющимися и экологически чистыми. Некоторые из них содержат гидрофобные соединения, которые задерживают воду на поверхности штукатурки и делают ее устойчивой к смыванию. Штукатурные и выравнивающие растворы нельзя приготавливать и использовать при температуре ниже 5 °C и выше 25 °C (другие ограничения могут быть указаны на упаковке).
В штукатурных работах применяют самые простые инструменты, их можно купить или изготовить своими силами.
При провешивании и установке маяков, а также для контроля качества выполненной штукатурки, применяют: отвес; рейки с отвесом; контрольное правило; угольник деревянный; угольник металлический с подвижной планкой; уровень водяной (гибкий); уровень строительный; стандартный конус (рис. 3). Инструменты для выполнения штукатурных работ показаны на рис. 4.
Сокол – это щит размером 38×40 см с ручкой в середине. Можно изготовить щит сокола из фанеры толщиной 6–8 мм. Сокол служит для поддержания порции раствора при нанесении его лопаткой, для выравнивания раствора и его намазывания на поверхности.
Штукатурная лопатка применяется для отмеривания и перемешивания материалов и растворов, накладывания раствора на сокол, набрасывания его с сокола на поверхности, намазывания, разравнивания и заглаживания его, разрезки трещин, железнения цементной штукатурки и для других целей. Лопатка состоит из полотна толщиной до 1,5 мм, ручки с коленом и черенка. Колено должно быть высотой 5 см. Если колено низкое, то легко повредить руку, а высокое – неудобно в работе. Ручка с коленом крепится к полотну с помощью заклепок или сварки.
Отрезовка — небольших размеров лопаточка, удобная для мелких ремонтных работ, исправления тяг, счистки обоев и других работ.
Полутерки применяют для разравнивания и намазывания раствора, натирки лузгов, усенков, фасок и углов при их разделке после вытягивания карнизов. Полутерок состоит из ручки и полотна. Полотно выполняют из бессучковатой древесины хвойных пород. Полутерки бывают разных размеров. Для основных работ изготовляют полотно длиной 700 мм, шириной 10–120 мм и толщиной 20 мм. Ручку крепят к полотну с помощью гвоздей или деревянных нагелей.
Терки служат для затирки штукатурки. Изготовляют их также из древесины хвойных пород без сучков и засмолов. Они состоят из полотна и ручки, которая крепится гвоздями или деревянными нагелями. Ручку надо делать по руке работающего, чтобы в нее свободно проходили пальцы. Чтобы затирка получалась чище, к полотну терки можно прибить плотный войлок или фетр.

Рис. 3. Инструменты для контроля качества выполненной штукатурки:
1 – отвес; 2 – рейка с отвесом; 3 – контрольное правило; 4 – угольник деревянный; 5 – угольник металлический с подвижной планкой; 6 – уровень водяной (гибкий); 7 – уровень строительный; 8 – стандартный конус

Рис. 4. Инструменты для выполнения штукатурных работ:
Правила — это хорошо строганные рейки из древесины хвойных пород разной длины, квадратной или прямоугольной формы сечением от 40×40 до 60×60 мм. Они необходимы для проверки штукатурки, устройства маяков, вытягивания тяг, отделки откосов, натирки лузгов и других работ.
Скребки применяют для очистки набела клеевой или известковой краски, обоев, бумаги и для других работ. Изготовляют их из листовой стали, нарезая пластинками в виде треугольника длиной 150 мм, шириной 50–100 мм. Крепят их к деревянной ручке с помощью гвоздей. Для работы надо иметь несколько скребков разной ширины. На ровных поверхностях применяют широкие скребки, на неровных – узкие, т. к. широкие будут оставлять пропуски, не счищая набела.
Стальные щетки состоят из деревянной оправы, или колодочки, и стальной проволоки разной толщины и жесткости. Применяются для очистки поверхностей от различных загрязнений.
Бучарда – молоток весом 1 кг или больше. Оба конца его имеют насеченные зубчики. Применяют для насечки поверхностей.
Троянка – зубило, на лезвии которого нанесены три зубчика. Применяется для насечки поверхностей.
Зубчатка – зубило с более широким лезвием, на котором насечено несколько зубчиков. Применяется для насечки поверхностей.
На заметку
При ремонте мелких мест часто можно обойтись только одной теркой, кистью и шпателем. Когда счищают набел и перетирают, обязательно нужны скребок, терка, кисть, шпатель. При ремонте мест с отбитой штукатурной для нанесения раствора требуется весь перечисленный выше инструмент.
Внимание
Если кирпичная кладка или бетонная поверхность выполнены точно, то на них можно наносить тонкие слои раствора, получая тонкослойную штукатурку – на кирпичных поверхностях от 5 мм и выше и на бетонных до 5 мм. Толщина штукатурки по кирпичу не должна быть меньше 5 мм, иначе сквозь нее будут просвечивать швы кладки, которые впоследствии невозможно закрасить краской. Штукатурка на деревянных поверхностях должна быть толщиной не менее 25 мм. При тонкой штукатурке сквозь нее будет просвечиваться набитая дрань, при короблении которой разрывается штукатурка и на ней появляются трещины.
Штукатурный раствор
Раствор можно набрасывать или намазывать, применяя различные инструменты. Первый слой (обрызг) наносится из жидкого раствора, поэтому намазать его нельзя, можно только набросать.
При оштукатуривании нельзя наносить толстые слои раствора за один прием, т. к. он будет сползать, а при высыхании давать много трещин.
Штукатурка состоит из трех отдельно наносимых слоев: обрызга, грунта, накрывки. Каждый из этих слоев имеет строго определенное назначение.
Обрызг — первый слой штукатурного намета. Его всегда набрасывают слоем от 3 до 9 мм, полностью, без пропусков покрывая поверхность. Для обрызга применяется жидкий сметанообразный раствор. Перед обрызгом каменные, бетонные и сухие деревянные поверхности хорошо смачивают водой. Толщина слоя для кирпичных и бетонных поверхностей до 5 мм, для деревянных – до 9 мм.
Грунт – второй слой штукатурного намета, наносимый на обрызг. Для грунта готовится более густой (тестообразный) раствор.
На заметку
Грунт – это основной слой намета, он образует необходимую толщину штукатурки, выравнивая неровности на поверхности. Когда требуется штукатурка большой толщины, грунт наносят в несколько слоев. Толщина каждого слоя не должна превышать 15–20 мм, так как более толстые слои сползают.
Накрывка – третий слой штукатурного намета толщиной 2–4 мм. Раствор готовится сметанообразной консистенции, наносится сверху грунта. Накрывка выравнивает поверхность грунта, образуя гладкий слой раствора, который можно хорошо затереть. Раствор для накрывки нужно готовить из мелкого песка, просеивая его через сито с ячейками 1,5×1,5 мм.